Chvění TOS SU32 a dělá vlny na obrobku
-
zverodoktor
- Příspěvky: 3656
- Registrován: 3. 6. 2007, 9:49
- Bydliště: Bratislava
Ja viem v čom je problém. Zabudli sme napísať, že sa zo pri meraní NEMÁ točiť. Podľa opisu náš mladý priateľ zaradil 80 otáčok a počas toho kvedlal s tou rúrou.
Prosím ťa čítaj s porozumením, mal si pri návode od kolegu Modelcam poznámku, že máš stroj odpojiť od elektriny a ty tam ešte aj pcháš ruky.
Prosím ťa čítaj s porozumením, mal si pri návode od kolegu Modelcam poznámku, že máš stroj odpojiť od elektriny a ty tam ešte aj pcháš ruky.
SU32, MN80, FN25, ISEL4433, Jakobsen SJ25, N1, VS16, Anycubic Kossel
- Zdenek Valter
- Příspěvky: 5458
- Registrován: 9. 1. 2009, 5:16
- Bydliště: Ústí n. L.
To je dobrá poznámka!! opravím svůj text díky!!
Hobbík - obráběč i 3D tiskař začátečník - strojní park je konečně instalován
ano to jsem delal pri nejmensi otackach zarazenych a stejne se to trochu točiloZdenek Valter píše: ↑4. 4. 2026, 3:11 Tady trochu návod - pravda na trochu menším bráškovi
Vřeteno stojí
Tohle měření dělej na vypnuté mašině!!!
Horizontalni vule.jpg
Táhneš konec kulatiny k sobě nebo tlačíš od sebe.
Vertikalni vule.jpg
Tlačíš konec kulatiny k loži nebo zdviháš od lože.
Naposledy upravil(a) martasg1 dne 4. 4. 2026, 8:30, celkem upraveno 1 x.
CNC obrábění
- Zdenek Valter
- Příspěvky: 5458
- Registrován: 9. 1. 2009, 5:16
- Bydliště: Ústí n. L.
Chápu tedy správně, že jsi měl stroj vypnutý, ale jen zařazenou rychlost otáčení?porbič77 píše: ↑4. 4. 2026, 8:04ano to jsem delal pri nejmensi otackach zarazenych a stejne se to trochu točiloZdenek Valter píše: ↑4. 4. 2026, 3:11 Tady trochu návod - pravda na trochu menším bráškovi
Vřeteno stojí
Tohle měření dělej na vypnuté mašině!!!
Horizontalni vule.jpg
Táhneš konec kulatiny k sobě nebo tlačíš od sebe.
Vertikalni vule.jpg
Tlačíš konec kulatiny k loži nebo zdviháš od lože.
Hobbík - obráběč i 3D tiskař začátečník - strojní park je konečně instalován
jasne, stroj byl vyply jen zarazeno na nizke otacky aby jakoby nesklo protocit vretenem pak jsem upnul tyč a dal na univerzalku hodinky a zacal tyci ruzne hybat hodiny se ani nehly jen se to neda u me moc merit protoze mam oklepane vsechno..., takze hodnody tam litaji sem a tam kdyz se univezalka trochu pootočí....Zdenek Valter píše: ↑4. 4. 2026, 8:30Chápu tedy správně, že jsi měl stroj vypnutý, ale jen zařazenou rychlost otáčení?porbič77 píše: ↑4. 4. 2026, 8:04ano to jsem delal pri nejmensi otackach zarazenych a stejne se to trochu točiloZdenek Valter píše: ↑4. 4. 2026, 3:11 Tady trochu návod - pravda na trochu menším bráškovi
Vřeteno stojí
Tohle měření dělej na vypnuté mašině!!!
Horizontalni vule.jpg
Táhneš konec kulatiny k sobě nebo tlačíš od sebe.
Vertikalni vule.jpg
Tlačíš konec kulatiny k loži nebo zdviháš od lože.
- Zdenek Valter
- Příspěvky: 5458
- Registrován: 9. 1. 2009, 5:16
- Bydliště: Ústí n. L.
Dobrá, když nedokážeš udržet rovně vřeteno při měření, tak zkus měřit na té tyči co nejblíž univerzále.
Hobbík - obráběč i 3D tiskař začátečník - strojní park je konečně instalován
-
soustružník
- Příspěvky: 854
- Registrován: 25. 10. 2009, 2:47
Myslím, že by bylo lepší měřit vůli vřetena než obrobku. Přesto universálu otlučenou tak, aby na ní nebylo kousek místa pro rozumné umístění doteku hodinek si neumím představit. To by chtělo fotečku.
Ja mám pocit, že autor stále nechápe ako sa meria vôla v ložiskách vretena.
dávať najnižšie otáčky je nezmysel, veď ja sa pri meraní vôbec nesnažím to vreteno otáčať. len kývať za tú tyč (k sebe/od seba= hodinky sú zboku) a (hore/dolu= hodinky sú zvrchu)
eštre teoreticky by mohol zmerať axiálne (doprava/doľava= hodinky sú z čela univerály).
či tam mám zaradených 200 alebo 2000 otáčok je fuk, lebo nič sa netočí.
dávať najnižšie otáčky je nezmysel, veď ja sa pri meraní vôbec nesnažím to vreteno otáčať. len kývať za tú tyč (k sebe/od seba= hodinky sú zboku) a (hore/dolu= hodinky sú zvrchu)
eštre teoreticky by mohol zmerať axiálne (doprava/doľava= hodinky sú z čela univerály).
či tam mám zaradených 200 alebo 2000 otáčok je fuk, lebo nič sa netočí.
ono možná jedno video dá víc než tisíce slov..
těžko něco na dálku soudit, na konkrétní otázky neodpoví, fotky video žádné, čemu říká vlny taky nevíme, jak a čím obráběl taky ne
univerzála je dle něj v háji, vůbec bych se nedivil kdyby třeba přesadil pakny
tak co tady jako víc řešit?
připadá mi to jak moderní snahy online telemedicíny (tam alespoň pošleš fotku nebo natočíš video než ti řeknou že máš přijít k lékaři) reálně vyléčej tak maximálně kousnutí od komára - hlavně že se inkasuje..
telefon: dobrý den dovolali jste se na online lékařskou podporu jak Vám mohu pomoci? , bolí mě zub, a který? ten v hubě
bohužel s tím Vám online nepomůžeme musíte k zubaři 
těžko něco na dálku soudit, na konkrétní otázky neodpoví, fotky video žádné, čemu říká vlny taky nevíme, jak a čím obráběl taky ne
univerzála je dle něj v háji, vůbec bych se nedivil kdyby třeba přesadil pakny
tak co tady jako víc řešit?
připadá mi to jak moderní snahy online telemedicíny (tam alespoň pošleš fotku nebo natočíš video než ti řeknou že máš přijít k lékaři) reálně vyléčej tak maximálně kousnutí od komára - hlavně že se inkasuje..
telefon: dobrý den dovolali jste se na online lékařskou podporu jak Vám mohu pomoci? , bolí mě zub, a který? ten v hubě
věčný rýpal,který musí mít poslední slovo, odpůrce low-cost zařízení končících v naprosté většině případů v hromadě šrotu
uživatelé hýbátek, kteří mají z mých příspěvků celoživotní trauma nechť si mé příspěvky VYPNOU
uživatelé hýbátek, kteří mají z mých příspěvků celoživotní trauma nechť si mé příspěvky VYPNOU
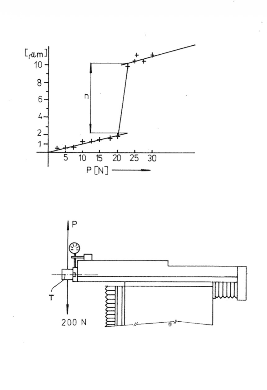
Ano. Dávám snímek pro lepší pochopení situace. Sice je to z návodu pro frézku FN32, ale princip je stejný.r4cv píše: ↑5. 4. 2026, 9:12 Ja mám pocit, že autor stále nechápe ako sa meria vôla v ložiskách vretena.
dávať najnižšie otáčky je nezmysel, veď ja sa pri meraní vôbec nesnažím to vreteno otáčať. len kývať za tú tyč (k sebe/od seba= hodinky sú zboku) a (hore/dolu= hodinky sú zvrchu)
eštre teoreticky by mohol zmerať axiálne (doprava/doľava= hodinky sú z čela univerály).
či tam mám zaradených 200 alebo 2000 otáčok je fuk, lebo nič sa netočí.
tak pozor! u nás léčili i Covid přes telefon a úspěšně
řekli: buďte doma a nikam nechoďte, prám se: co léčba? čím? řekli: no ničím, počkejte až jak to dopadne
CNC obrábění