Tos s-28 žebrák

Vse o konvencnich strojich, nic o jejich prestavbe na cnc
Odpovědět
pekoz
Příspěvky: 10
Registrován: 7. 5. 2010, 8:22

14. 2. 2014, 10:23

Díky za názornou ukázku :shock:
Ty šroubky doma jsou totiž imbus, hluboko a tak zalepené že nejsou moc patrné a asi bych asi ještě dával pryč krytky lišt než bych se zorientoval.
...když už jsem vtom, nemáte někdo představu jestli a kde se dají sehnat originální bakelitová ovládací kolečka s výstupkem - na skříň převodovky - chybí mi dvě.
A ještě jaký ložiskový olej z dnešní produkce (OL...) doporučujete na výměnu ?
Díky
P.K.
Uživatelský avatar
salus
Příspěvky: 1528
Registrován: 1. 9. 2013, 1:30
Bydliště: Chrudimsko

14. 2. 2014, 11:13

Tak o těch bakelitových páčkách už jsem také přemýšlel. Než jsem koupil tu mojí S-28, kde jsou všechny OK, tak jsem měl nabídky jiných S-28, kde byly některé ty páčky uražené a proto už jsem předem přemýšlel co s tím. Protože jsem předpokládal, že jako origo díl nebudou k sehnání, měl jsem vymyšlenou tuto variantu: Vzít nepoškozenou páčku a podle ní udělat formu (třeba z lukoprenu, možná by stačila i sádrová) a páčku odlít z HEFFEDU, musely by se pak asi ještě dokončit otvory, ale to by nemusel být až zas tak velký problém. Naštěstí jsem zatím tento postup nemusel absolvovat. Ještě také varianta vyrobit něco podobného jako je na přiloženém obrázku, protože takové páčky se také na S-28 přímo u výrobce dávaly.
Co se týká olejů tak jse to již také řešil. Na můj dotaz přímo v PARAMU Pardubice, kde jsem vznesl dotaz s parametry původního oleje který doporučoval výrobce stroje pro mazání vřetena a rychlostní skříně (viskozita E 1,5 při 50 st. Celsia) mě byla nabídnuta ekvivalentní náhrada a to olej PARAMO OL-J10. Co se týká suportové skříně tam mi byl doporučen olej OL-B5, ten se sice stále vyrábí, ale přímo v podnikové prodejně PARAMO mi bylo řečeno, že minimální balení tohoto oleje je 200litrový sud. Takže vzhledem k tomu, že suportová skříň a lože nebude na druh mazacího oleje tak kritická tak tam dávám OL-J100, který je v 10l balení, bude to sice na X let ale to nevadí.
Přílohy
Páčky S-28.JPG
Soustruh: S-28 Žebrák
Stolní vrtačka: TOS V10A
Pásová pila: G5013W/400
jester
Příspěvky: 28
Registrován: 19. 2. 2014, 12:18

20. 2. 2014, 10:20

Dobrý deň!
Vedel by ste mi poradiť ako demontovať vodiaci šrob pre rezanie závitov?
Páčky S-28.JPG
Páčky S-28.JPG (22.14 KiB) Zobrazeno 17197 x
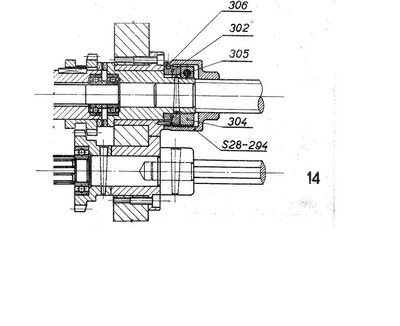
, v mieste kde je pripevnený k nortonovej prevodovke. Podarilo sa mi demontovať ten vlacovitý kryt, ten je len našrobovaný, aj matku 304 a trecí krúžok 302.
srob2.JPG
, i kuželovitý kolík, šrob však nejde vytiahnúť, vyzerá ako keby pokračoval v jednom celku až do nort. prevodovky.
ďakujem :D
RaS
Příspěvky: 8843
Registrován: 26. 3. 2009, 9:12
Bydliště: Úvaly

20. 2. 2014, 11:19

tohle jsem taky kdysi rozdělával, je to dělený a spojený tím kuželovým kolíkem, taky mě to šlo hodně blbě, předpokládám že druhou stranu máš sundanou? ta je taky na kolíkách (ten domek) a když je volná tak když zařadíš posuv a hneš ručně suportem tak to vyjede..
věčný rýpal,který musí mít poslední slovo, odpůrce low-cost zařízení končících v naprosté většině případů v hromadě šrotu
uživatelé hýbátek, kteří mají z mých příspěvků celoživotní trauma nechť si mé příspěvky VYPNOU
jester
Příspěvky: 28
Registrován: 19. 2. 2014, 12:18

20. 2. 2014, 11:40

Z druhej strany? Myslíš tým zo strany nortonovej prevodovky? Tam som sa ešte nedostal.Veľmi sa v tom výkrese z manuálu neviem zorientovať :D Domec som odšroboval boli tam 3 imbusové šróby a 2 malé červíky, , domec však stále pevne sedí, nejaví tendenciu sa pohnúť ani po jemnom zapáčaní, násilie veľmi nechcem používať.
RaS
Příspěvky: 8843
Registrován: 26. 3. 2009, 9:12
Bydliště: Úvaly

20. 2. 2014, 11:56

na levé straně šroubu u nortonky jsi sundal ten kryt a vyndal kolík z toho šroubu OK?
pak je druhá strana šroubu napravo na konci soustruhu, tem to drží v takovém domečku myslím na 4 M6kách a dva kolíky.. až tohle sundáš tak ten šroub už může vyjet ven..
ten domeček pokud myslíš přímo ten v nortonce tak ten drží tu vnitřní část hřídele (ložiska) to tam nech.. to tam je zasšroubovaný asi třema šroubama a myslím ještě zajištěný takovým červíkem.. ale to není potřeba..
věčný rýpal,který musí mít poslední slovo, odpůrce low-cost zařízení končících v naprosté většině případů v hromadě šrotu
uživatelé hýbátek, kteří mají z mých příspěvků celoživotní trauma nechť si mé příspěvky VYPNOU
romkan
Příspěvky: 43
Registrován: 23. 6. 2010, 5:55
Bydliště: Malacky

20. 2. 2014, 12:05

Je to tak ako pise RaS, taktiez mi to neslo najprv von + aj na reze je vidno, ze to nejde az dovnutra. Treba dat dolu ten zadny domcek a po troche snahy to vyjde von. Ja som mal v danom case uz dole suport, takze ten mi nepomohol.
jester
Příspěvky: 28
Registrován: 19. 2. 2014, 12:18

20. 2. 2014, 12:44

Ano ten zadný domec pri /pod/koníkom som odmontoval, tam problém nie je :D Skúsim to teda opatrame vytiahnuť za šrob. Romkan, ako si dával dole suport? Chcem ho tiež dať dole a vyčisť vedenie suportu, preto vlastne dávam dole ten šrob i tyč náhonu posuvov/ tá šla von úplne bez problémov.
romkan
Příspěvky: 43
Registrován: 23. 6. 2010, 5:55
Bydliště: Malacky

20. 2. 2014, 1:06

Teraz nestiham, dostanem sa k tomu az v noci - napisem. Ale nie je to vobec problem (treba nabrat len odvahu) - treba len trochu meditovat nad robotou...
jester
Příspěvky: 28
Registrován: 19. 2. 2014, 12:18

20. 2. 2014, 1:13

OK :D Vôbec to neponáhľa. To Pekoz: Ja mám tie ovládacie koliečka kovové, vyzerá, že sú orginál. Pofotím ich a dám sem, nemusel by byť vôbec problém ich vyrobiť. Zaťiaľ ďakujem všetkým za snahu pomôcť
romkan
Příspěvky: 43
Registrován: 23. 6. 2010, 5:55
Bydliště: Malacky

20. 2. 2014, 8:49

Takze zacal som vpredu s klukou (obr.1), no ta nema priamy suvis s rozoberanim suportu. Dolezite je dat vzadu dole maticu (obr.2) + poistnu maticu (obr.3). Nasledne zvrchu v strede treba odstanit 5 imbusov posuvovej matice (obr.4). Nasledne mozeme stiahnut vrchnu cast sani. Vratime sa dozadu a zospodu odskrutkujeme 4 imbusy drziace odliatok na ktorej bola matica s kontramatkou - predlzenie suportu (obr.5). Vzadu to potom vyzera takto (obr.6). Nasledne dame dole zadnu pridrznu listu, ktoru drzi 5 skrutiek - nefotil som. Poslednym krokom su 4 imbusy na vrchu suportu (obr.8) Teraz ak sa zodvihne zadna cast suportu a jemne nadvihne a posunie k sebe, tak sa vrch suportu da vybrat (je to taky L pohyb). A je to vonku (obr.7 a 9). Toto je samozrejme moja verzia - da sa to iste urobit aj inac...
Obr.1
Obr.1
Obr.2
Obr.2
Obr.3
Obr.3
Obr.4
Obr.4
Obr.5
Obr.5
Obr.6
Obr.6
Obr.8
Obr.8
Obr.7
Obr.7
Obr.9
Obr.9
jester
Příspěvky: 28
Registrován: 19. 2. 2014, 12:18

23. 2. 2014, 9:34

Ahojte!
Dávam sem sľúbené fotky kľučiek pre Pekoza.
P2200006.JPG
P2200007.JPG
P2200008.JPG
. Romkanovi ďakujem za návod. Šrób išiel dole, tako popisoval RaS a Romkan.
Uživatelský avatar
robokop
Site Admin
Příspěvky: 23275
Registrován: 10. 7. 2006, 12:12
Bydliště: Praha
Kontaktovat uživatele:

23. 2. 2014, 2:06

Btw co ty klicky odlejt z hliniku podle tech originalu
Vsechna prava na chyby vyhrazena (E)
pekoz
Příspěvky: 10
Registrován: 7. 5. 2010, 8:22

25. 2. 2014, 10:53

to Jester:
díky moc za foto - už mám nápad :idea: :wink:
Ještě dodělat podlahu (kachle) - a jde se na věc
to romkan:
Ty fotky jsou perfektní
Uživatelský avatar
salus
Příspěvky: 1528
Registrován: 1. 9. 2013, 1:30
Bydliště: Chrudimsko

25. 2. 2014, 3:36

jester píše:OK :D Vôbec to neponáhľa. To Pekoz: Ja mám tie ovládacie koliečka kovové, vyzerá, že sú orginál. Pofotím ich a dám sem, nemusel by byť vôbec problém ich vyrobiť. Zaťiaľ ďakujem všetkým za snahu pomôcť
Myslím, že ty kovové páčky nejsou původní, už je asi někdo nahrazoval. Na přiložených fotkách jsou páčky, které jsou 100% originální. Jsou dvě varianty, buď to provedení na fotce zcela nahoře, to se podle mne dělalo až v pozdějších letech. Nebo druhá varianta (dvě fotky dole) byly páčky, které se dávaly na S-28 v počátcích výroby S-28. Mně osobně se ty kovové nelíbí, ale to je věc názoru. Ale ani jedna varianta není nic tak složitého aby se to nedalo udělat.
Přílohy
S28-páčka1.JPG
S28-páčka2.JPG
Páčky S-28.JPG
Soustruh: S-28 Žebrák
Stolní vrtačka: TOS V10A
Pásová pila: G5013W/400
Odpovědět

Zpět na „konvenční soustruhy“