Rotační matice
Připojuji se s prosbou - pokud tady někdo stavěl vřeteno, nejlépe na základě ERxx hřídelí z Ebay, hodily by se obrázky anebo alespoň konkrétní rozbor, jak tu hřídelku správně uložit.
Děkuji, radek
Děkuji, radek
soustruh Bernardo 500, frézka Proxxon
(CNC Tron, CNC Proxxon MF70)
(CNC Tron, CNC Proxxon MF70)
ještě použiju obrázek ze SZ od Oscara
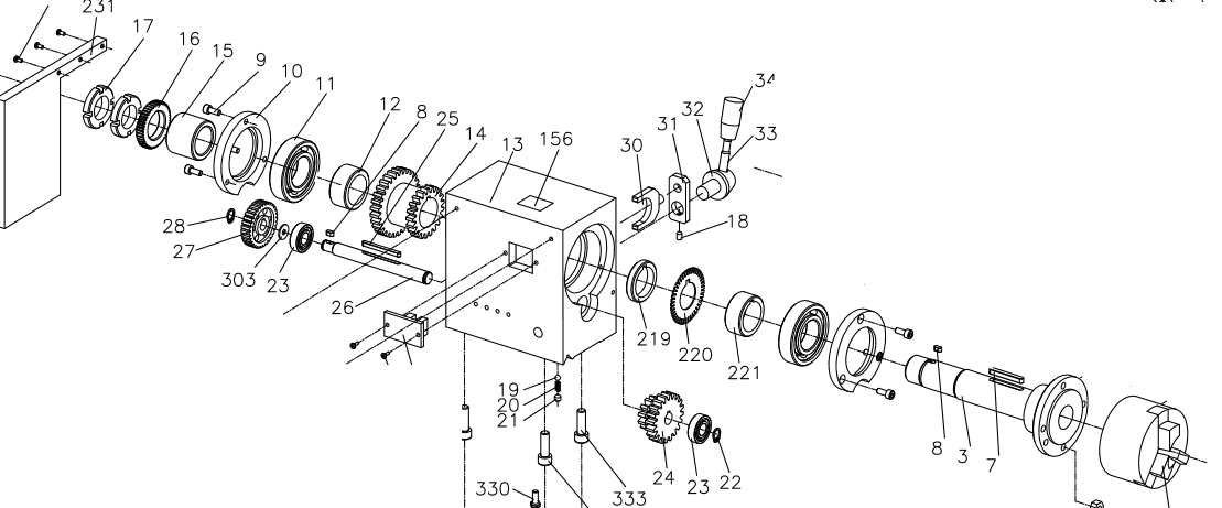
Vec kterou vidim je, ze konstrukce vreteniku pocita mezi lozisky ne s presne dlouhou distancni trubkou anebo s dvema lozisky u sebe,
ale se sestavou lozisko-distancni podlozka, prevodove kolo, distancni podlozka, clonka pro otackomer, distancni podlozka, lozisko.
headstock.png
podle té sestavy toto je pravděpodobně typická sestava pro dvě radiální ložiska, ala "hřídel k cirkulárce", tj. dva vnitřní kroužky a jeden vnější natvrdo, čtvrtý kroužek musí být axiálně volný
tipoval bych, že problém s ložisky je v tomto případě způsoben tím, že se sešly plusové délkové tolerance všeho na hřídeli a součet je větší, než je axiální vůle na vnějším kroužku zadního ložiska - ten musí být volný v obou směrech
pak dojde k tomu, že při stažení víky jsou ložiska doslova našponována ax. silou řádově větší, než snesou
doporučuju proměřit a případně zkrátit některý prvek na hřídeli nebo utočit hranu zadního víka
prosím Oscara aby sem dal obrázek co mi poslal
Vec kterou vidim je, ze konstrukce vreteniku pocita mezi lozisky ne s presne dlouhou distancni trubkou anebo s dvema lozisky u sebe,
ale se sestavou lozisko-distancni podlozka, prevodove kolo, distancni podlozka, clonka pro otackomer, distancni podlozka, lozisko.
headstock.png
podle té sestavy toto je pravděpodobně typická sestava pro dvě radiální ložiska, ala "hřídel k cirkulárce", tj. dva vnitřní kroužky a jeden vnější natvrdo, čtvrtý kroužek musí být axiálně volný
tipoval bych, že problém s ložisky je v tomto případě způsoben tím, že se sešly plusové délkové tolerance všeho na hřídeli a součet je větší, než je axiální vůle na vnějším kroužku zadního ložiska - ten musí být volný v obou směrech
pak dojde k tomu, že při stažení víky jsou ložiska doslova našponována ax. silou řádově větší, než snesou
doporučuju proměřit a případně zkrátit některý prvek na hřídeli nebo utočit hranu zadního víka
prosím Oscara aby sem dal obrázek co mi poslal
Obvykle se dějí věci obvyklé. Méně často se dějí věci neobvyklé a zcela vyjímečně se dějí věci vyjímečné...
Masturn 40 CNC, Hermle UWF1200H CNC a pár klasik
http://www.radialengine.cz" onclick="window.open(this.href);return false;
http://www.autopejsek.cz" onclick="window.open(this.href);return false;
Masturn 40 CNC, Hermle UWF1200H CNC a pár klasik
http://www.radialengine.cz" onclick="window.open(this.href);return false;
http://www.autopejsek.cz" onclick="window.open(this.href);return false;
Jasne, pokud bych se snazil odhadnout tu setinu predpeti, tak to bude problem. Ale urcitemu predepeti odpovida nejaky valivy odpor (trochu zjednodusuju), ktery by melo jit zmerit/odhadnout. Takze bych se nesnazil utahovat na nulu a pak setinu pridat, ale utahovat tak, aby loziska sla 'primnerene' ztuha.testone píše:špatně je na tom to, co o pár příspěvků výš psal RaSledvinap píše:A co je tak spatne na nastaveni predepnuti podle toho, jaky odpor lozisko klade pri otaceni? Tento postup uvadeji v katalogu i vyrobci lozisek ...
Pripadne by slo jeste pridat talirovou pruzinu, konstrukcne by to bylo celkem snadne a predepnuti by bylo daleko mene zavisle na teplote a podobne.
výsledek (kvalita, životnost) je velmi silně závislý na citu seřizovače atd.
odhadovat předpětí v řádu 0,01mm na závitu se stoupáním 1,5 mm je loterie
v okamžiku kdy utáhneš kontramatku je všechno jinak
Zajisteni kontramatkou urcite bude problem, ale bud muzu pouzit jinou metodu zajisteni matice (rozrizla matice, ktera se dotahne), nebo si s tim hrat tak dlouho, dokud to po utazeni nebude spravne.
Take po dotazeni bych mel hned vedet, zda jsou loziska utazana spravne (jinak pujdou moc ztuha nebo moc volne).
správně předepnuté ložisko neklade citelný odpor, a to i při průměru ložiska třeba 150 mm
vzorové uložení hřídele do dvojice univerzálně párovatelných ložisek jak jsem popisoval výše
vzorové uložení hřídele do dvojice univerzálně párovatelných ložisek jak jsem popisoval výše
Obvykle se dějí věci obvyklé. Méně často se dějí věci neobvyklé a zcela vyjímečně se dějí věci vyjímečné...
Masturn 40 CNC, Hermle UWF1200H CNC a pár klasik
http://www.radialengine.cz" onclick="window.open(this.href);return false;
http://www.autopejsek.cz" onclick="window.open(this.href);return false;
Masturn 40 CNC, Hermle UWF1200H CNC a pár klasik
http://www.radialengine.cz" onclick="window.open(this.href);return false;
http://www.autopejsek.cz" onclick="window.open(this.href);return false;
axiální vůle pro běžné dvouřadé kosoúhlé ložisko s dírou 35mm je dle výrobce 9-29mikronu což je 1-3setiny jak jsem uvedl (jednoduché ložisko (přesný katalog teď nemám)bude mít tu vůli menší, ale zase jsou dvě tak ve finále to bude podobné)Vlada7 píše:Jinak bych chtěl pouze doplnit, že hodnota předpětí je mikronech, ne v setinách, jak si někteří "strojaři" myslí.
myslím si že když někdo nechápe princip uložení ložiska tak je mu jedno jestli mu uvedu rozměr v setinách místo v mikronech, setiny jsou pro většinu hobíků těžko měřitelné a představitelné o mikronech ani nemluvě..
ten výrobek za tu cenu co nabízíš proč ne, určitě to má svého kupce, těžko se s tím někdo za takové peníze bude dělat, jen je to podle mě prostě komplikované a strojařina je v principu jednoduchá právě proto aby se eliminovali montážní chyby.. která tady prostě z principu věci musí nastat.. ano dá se namítnout, že hobíkovi je to jedno že mu to ložisko po třeba 5000hodinách odejde, já jen tvrdím, že udělat to tak jak se má je mnohdy jednodušší..
věčný rýpal,který musí mít poslední slovo, odpůrce low-cost zařízení končících v naprosté většině případů v hromadě šrotu
uživatelé hýbátek, kteří mají z mých příspěvků celoživotní trauma nechť si mé příspěvky VYPNOU
uživatelé hýbátek, kteří mají z mých příspěvků celoživotní trauma nechť si mé příspěvky VYPNOU
Asi jsem se dotl něčího ega:). Ono právě u jednořadých pro střední předpětí je to trošku méně -2 až -10mikronů (tedy max. ta 1 stovka). Teď ještě,
jestli se bavíme o předpětí, nebo v tabulkách uváděné axiální vnitřní vůli kroužků, která je 22-30mikronů. To je velký rozdíl.
Problém s jednotkami nemám, jen kdybych to udělal ty 3 stovky u jednořadých ložisek, bude to předepnuté moc a o tom je celá ta diskuse,ne? Než bych někomu píchal do řešení, sehnal bych si raději katalog třeba od SKF, nalistoval a pak se vyjadřoval. Ale o to nejde, nechci se dohadovat, nebaví mě to. Nabídl jsem k prodeji řešení, které mám 2 letým provozem vyzkoušené a uznávám, mám to dotažené s citem.
Co je pro hobby stroje jednodušší, vytočit oboustraně osazenou díru do dílu a pak s citem smontovat , nebo vytočit dutinu, vytočit polotovary dist.trubek, brousit konce, kolíkovat a pak pořádně dotáhnout...?
jestli se bavíme o předpětí, nebo v tabulkách uváděné axiální vnitřní vůli kroužků, která je 22-30mikronů. To je velký rozdíl.
Problém s jednotkami nemám, jen kdybych to udělal ty 3 stovky u jednořadých ložisek, bude to předepnuté moc a o tom je celá ta diskuse,ne? Než bych někomu píchal do řešení, sehnal bych si raději katalog třeba od SKF, nalistoval a pak se vyjadřoval. Ale o to nejde, nechci se dohadovat, nebaví mě to. Nabídl jsem k prodeji řešení, které mám 2 letým provozem vyzkoušené a uznávám, mám to dotažené s citem.
Co je pro hobby stroje jednodušší, vytočit oboustraně osazenou díru do dílu a pak s citem smontovat , nebo vytočit dutinu, vytočit polotovary dist.trubek, brousit konce, kolíkovat a pak pořádně dotáhnout...?
Jak jsem psal,není tam vnitřní kroužek, ale vnější tam jeRaS píše:vždyť jsem psal žádnej kroužek tam bejt nemusí a ani většinou není, ložiska jsou dělaná tak že se dají přímo na sebe a stáhnou se a mají provozní vůli..
pak jsou ložiska určená do vřeten přesná bezvůlová, ty taky dáš k sobě bez trubky stáhneš a tam vůle není je tam z výroby definovaný předpětí..
pak nastává situace kdy ty ložiska z nějakého důvodu nechceš mít uplně u sebe třeba když je delší osa.. pak tam dáš přesné trubky které ty ložiska oddálí od sebe, pokud budou obě trubky stejně dlouhé z vůlí se nestane nic a je stejná jakoby byla s ložiskama montovanými na sebe.. pokud máš vůlová ložiska, což jsou všechny normální a chceš tu vůli zmenšit tak musíš dát trubky o různé velikosti.. nicméně to samozřejmě neudělá s nepřesného ložiska přesné .. tak snad už je to jasné
pokud má někdo válcovanej šroub vůlovou matici tak asi nemusí řešit přesné ložiska v uložení šroubu nebo matice.. nicméně koupí-li si někdo kvalitní šroub třeba v C2 C3 tak přesnost toho šroubu takovejhlema ložiskama zabije.. nic víc v tom není..
Vlada7
.... a když budeš točit tu oboustranně osazenou díru na dvě upnutí tak to bude zaručeně šmajdat, každá díra bude mít jinou osu a ložiska se budou křížit, je to docela problém
dělat ten zadní průměr 10 cm dlouhou kudlou taky není nic moc
jak se to správně dělá tu asi před rokem popsal Tumlík
... dotáhnout s citem....
souhlasím s tím, že pro hobby použití to může být použitelné tak jak je to vyrobeno přesně jak píše RaS
prostě to jen nemá některé vlastnosti které by to za nulovou investici mohlo mít
ono je taky sakra rozdíl, jestli je tato konstrukce použita na rotační matici která se točí 10-100/1 min a to ne pořád, a vřetene které jede v kuse 10000/1 min
Jan Danda
pak tam buď ten vnitřní kroužek zapomněli dát, nebo v době výroby toho vřetena v ZKL nevyráběli nebo nedodali univerzálně párovatelná ložiska (dodávali nějaké sestavy, přesně to nevím)
třetí možnost je, že to tak zamýšleli a pak do má všechny nectnosti o kterých tu byla řeč
.... a když budeš točit tu oboustranně osazenou díru na dvě upnutí tak to bude zaručeně šmajdat, každá díra bude mít jinou osu a ložiska se budou křížit, je to docela problém
dělat ten zadní průměr 10 cm dlouhou kudlou taky není nic moc
jak se to správně dělá tu asi před rokem popsal Tumlík
... dotáhnout s citem....
souhlasím s tím, že pro hobby použití to může být použitelné tak jak je to vyrobeno přesně jak píše RaS
prostě to jen nemá některé vlastnosti které by to za nulovou investici mohlo mít
ono je taky sakra rozdíl, jestli je tato konstrukce použita na rotační matici která se točí 10-100/1 min a to ne pořád, a vřetene které jede v kuse 10000/1 min
Jan Danda
pak tam buď ten vnitřní kroužek zapomněli dát, nebo v době výroby toho vřetena v ZKL nevyráběli nebo nedodali univerzálně párovatelná ložiska (dodávali nějaké sestavy, přesně to nevím)
třetí možnost je, že to tak zamýšleli a pak do má všechny nectnosti o kterých tu byla řeč
Obvykle se dějí věci obvyklé. Méně často se dějí věci neobvyklé a zcela vyjímečně se dějí věci vyjímečné...
Masturn 40 CNC, Hermle UWF1200H CNC a pár klasik
http://www.radialengine.cz" onclick="window.open(this.href);return false;
http://www.autopejsek.cz" onclick="window.open(this.href);return false;
Masturn 40 CNC, Hermle UWF1200H CNC a pár klasik
http://www.radialengine.cz" onclick="window.open(this.href);return false;
http://www.autopejsek.cz" onclick="window.open(this.href);return false;
uražené ego se kouklo do katalogu SKF pro ložiska řady explorer což jsou ložiska ve třídě P6 nikoliv běžná ložiska za pár korun třeba od ZKL to ložisko v téhle velikosti stojí cca 1000 od ZKL běžné 150kč pro srovnání..
nicméně tohle ložisko ve standartním provedení s normální axiální vůlí montované ve dvojici vůli má od výrobce SKF uváděnou vůli právě 22-30mikronů
pokud koupím variantu se středním přepětím tak to má přepětí 2-10mikronů (varianta těžkého předpětí má přepětí 8-16mikronu)
takže z logiky věci vyplývá že pokud-li chci vymezit vůli do středního přepětí musím tam dát podložky s rozdílem 24-40mikronů takže střední hodnota budou právě 3setiny... takže asi tak.. když už něco radím tak aspoň vím co.. nic víc..
nicméně tohle ložisko ve standartním provedení s normální axiální vůlí montované ve dvojici vůli má od výrobce SKF uváděnou vůli právě 22-30mikronů
pokud koupím variantu se středním přepětím tak to má přepětí 2-10mikronů (varianta těžkého předpětí má přepětí 8-16mikronu)
takže z logiky věci vyplývá že pokud-li chci vymezit vůli do středního přepětí musím tam dát podložky s rozdílem 24-40mikronů takže střední hodnota budou právě 3setiny... takže asi tak.. když už něco radím tak aspoň vím co.. nic víc..
věčný rýpal,který musí mít poslední slovo, odpůrce low-cost zařízení končících v naprosté většině případů v hromadě šrotu
uživatelé hýbátek, kteří mají z mých příspěvků celoživotní trauma nechť si mé příspěvky VYPNOU
uživatelé hýbátek, kteří mají z mých příspěvků celoživotní trauma nechť si mé příspěvky VYPNOU
Děkuji za obrázek.testone píše:...vzorové uložení hřídele do dvojice univerzálně párovatelných ložisek jak jsem popisoval výše
Ještě budu tak drzý, že poprosím o zodpovězení dalších otázek.
Když kouknu na http://www.ebay.com/sch/i.html?_from=R4 ... ce0&_rdc=1" onclick="window.open(this.href);return false;
tak tam nevidím závit na zajišťovací matici. Lze ji plnohodnotně nahradit zašroubováním "bazmeku z přetaženým okrajem" do vnitřního závitu na tyč? Anebo to chce jiné uložení?
Potom prosím o upřesnění typu ložisek pro situaci: jsem hobík, koupím za pětistovku hřídelku, dobastlím k ní řemeničku... Pojede to (když moc) průměrně hodinu denně. Jaký typ ložisek zvolit, aby byla v podobné cenové a kvalitativní hladině?
Díky, Radek
soustruh Bernardo 500, frézka Proxxon
(CNC Tron, CNC Proxxon MF70)
(CNC Tron, CNC Proxxon MF70)
já bych to udělal takhle, teď jsem někomu dělal takový náčrtek tak to sem hodím..
jako polotovar je ta čínská hřídelka za 500 nebo kolik,s průměrem 20mm na to dvě kosoúhlá ložiska 7204 stažené maticí nahoře válečkové ložisko třeba NU203 s průměrem 17mm a řemenice ve svěrném pouzdru..
konec hřídelky se přesoustruží na průměr 17,2 donese brusiči ten vybrousí závit a přebrousí průměr a hotovo.. řádově náklady 1000Kč
ložiska jak je libo od 200kč (komplet všechny za ZKL obyč) až po cca 5500 za vřetenovou špičku..
domek blok z ocelolitiny vyfrézovanej vytočená díra cena cca 1500 + cca 500litina s řezem
komerční rozpěrné pouzdro cca 200
řemenička s tou přítlačnou deskou cca 1000,-
takže celej vřeteník komplet 5000 na obyč 10000 na vřetenovejch ložiskách..
jako polotovar je ta čínská hřídelka za 500 nebo kolik,s průměrem 20mm na to dvě kosoúhlá ložiska 7204 stažené maticí nahoře válečkové ložisko třeba NU203 s průměrem 17mm a řemenice ve svěrném pouzdru..
konec hřídelky se přesoustruží na průměr 17,2 donese brusiči ten vybrousí závit a přebrousí průměr a hotovo.. řádově náklady 1000Kč
ložiska jak je libo od 200kč (komplet všechny za ZKL obyč) až po cca 5500 za vřetenovou špičku..
domek blok z ocelolitiny vyfrézovanej vytočená díra cena cca 1500 + cca 500litina s řezem
komerční rozpěrné pouzdro cca 200
řemenička s tou přítlačnou deskou cca 1000,-
takže celej vřeteník komplet 5000 na obyč 10000 na vřetenovejch ložiskách..
věčný rýpal,který musí mít poslední slovo, odpůrce low-cost zařízení končících v naprosté většině případů v hromadě šrotu
uživatelé hýbátek, kteří mají z mých příspěvků celoživotní trauma nechť si mé příspěvky VYPNOU
uživatelé hýbátek, kteří mají z mých příspěvků celoživotní trauma nechť si mé příspěvky VYPNOU
- tumlik
- Sponzor fora
- Příspěvky: 3821
- Registrován: 19. 12. 2007, 8:20
- Bydliště: já su z Moravskej :-)
- Kontaktovat uživatele:
............Aniž bych se nějak chtěl účastnit všeobecného flame veselí
protože pokud by tam ten kroužel nebyl, tak nechápu jakým způsobem by to přesné uložení vnějších vůči vnitřním kroužkům bylo realizováno
příspěvky a malůvky co sem dal testone a Ras mají rozhodně logiku a dovolil bych si tvrdit, že takhle je to správně
, nějak mi nejde do hlavy jakým čarodějnickým způsobem by daný montážník v TOS došel k tomu, že "už je to ono, teď je to cajk" , když spíš přemýšlel nad tím jakej asi gábl mu ukuchtila soudružka kuchařka v závodce 
a chápu to dobře, že vnitřní kroužky těch ložisek nejsou axiálně nijak zajištěny, že jsou jen volně na hřídeli ?, není náhodou onen vnitřní rozpěrný element samotné osazení pro ložiska na hřídeli (menší/větší), který je shodný s rozměrem dosedacích ploch vnějších kroužků přímo v hlavě?Jan Danda píše: Jak jsem psal,není tam vnitřní kroužek, ale vnější tam je
protože pokud by tam ten kroužel nebyl, tak nechápu jakým způsobem by to přesné uložení vnějších vůči vnitřním kroužkům bylo realizováno
příspěvky a malůvky co sem dal testone a Ras mají rozhodně logiku a dovolil bych si tvrdit, že takhle je to správně
http://www.tumlikovo.cz/
Popularizační web nástrojařství a kovoobrábění
Popularizační web nástrojařství a kovoobrábění
A co je to nad tou dvojici lozisek (to, co pritlacije vnitrni krouzek horniho kosouhleho loziska)?
A jaky ma prosim smysl dat nahoru valeckove lozisko misto obycejneho jednoradeho kulickoveho? Tady prece zadne velke radialni sily uz pusobit nebudou, protoze je to na dlouhem rameni paky.
Takhle by navic bylo dost nesikovne, ze by matice s klestinou couhala jen velmi malo z toho drzaku. Otazkou je, jestli by se tam vubec dal pouzit klic, kterym je treba drzet hridel pri utahovani ER matice.
Ono s temi hridelemi s ER matici je to nejake divne. Napr. pro ER16 jsou bud s hodne tenkou hrideli 12mm: http://www.ebay.com/itm/C12-ER16A-100L- ... 0996146815" onclick="window.open(this.href);return false; ,
nebo 16mm, ktery by byl sikovny, ale na coz je velmi obtizne sehnat nejake lozisko: http://www.ebay.com/itm/C16-ER16A-150L- ... 1044838580" onclick="window.open(this.href);return false; ,
nebo 20mm: http://www.ebay.com/itm/C20-ER16M-150L- ... 1046960637" onclick="window.open(this.href);return false; .
Ale u toho prumeru 20mm je pak prumer hridele vetsi, nez je prumer toho konce s matici. Takze asi autori mysleli uchyceni nejak jinak. A docela by me zajimalo jak.
A jaky ma prosim smysl dat nahoru valeckove lozisko misto obycejneho jednoradeho kulickoveho? Tady prece zadne velke radialni sily uz pusobit nebudou, protoze je to na dlouhem rameni paky.
Takhle by navic bylo dost nesikovne, ze by matice s klestinou couhala jen velmi malo z toho drzaku. Otazkou je, jestli by se tam vubec dal pouzit klic, kterym je treba drzet hridel pri utahovani ER matice.
Ono s temi hridelemi s ER matici je to nejake divne. Napr. pro ER16 jsou bud s hodne tenkou hrideli 12mm: http://www.ebay.com/itm/C12-ER16A-100L- ... 0996146815" onclick="window.open(this.href);return false; ,
nebo 16mm, ktery by byl sikovny, ale na coz je velmi obtizne sehnat nejake lozisko: http://www.ebay.com/itm/C16-ER16A-150L- ... 1044838580" onclick="window.open(this.href);return false; ,
nebo 20mm: http://www.ebay.com/itm/C20-ER16M-150L- ... 1046960637" onclick="window.open(this.href);return false; .
Ale u toho prumeru 20mm je pak prumer hridele vetsi, nez je prumer toho konce s matici. Takze asi autori mysleli uchyceni nejak jinak. A docela by me zajimalo jak.
Soustruh Noell E0177 (Sandra), jenom kličky
Frézka 3040z (Fiona), LinuxCNC
Frézka 3040z (Fiona), LinuxCNC