Tvrdá podložka

prochaska
Sponzor fora
Příspěvky: 8450
Registrován: 16. 7. 2006, 12:33
Bydliště: Praha Bohnice + Roudnice nad Labem
Kontaktovat uživatele:

19. 8. 2015, 9:14

Kolejnice se v tomto případě zjevně podkládat nemusí, protože bude určitě rovnější než nějaká hliníková deska :-)
Aleš Procháska
4rest
Příspěvky: 599
Registrován: 7. 10. 2014, 5:13
Bydliště: Praha

19. 8. 2015, 9:26

pcz píše:A je to rovné?

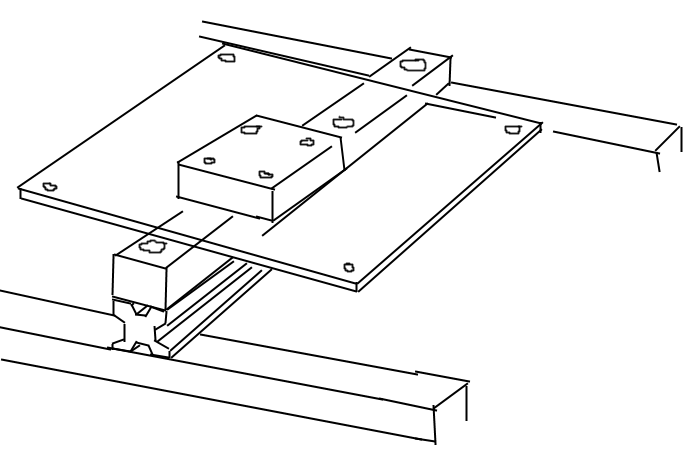
Je to přichyceno na třech bodech. Představoval jsem si, že by se hliníková deska přišroubovala k hiwin vozíčku - čili 4 body někde uprostřed. Oni to mají tak, že přišroubovali ne vozíček ale kolejnici na dvou bodech a pak k ní přidali ještě rameno na ten třetí šroub. Připadá mi to komplikované. A neměla by se ta kolejnice podkládat?

Není tam ani napsáno jestli je tam závit, nebo se tam strká matka, nebo jak se to šroubuje.

Jak mají nastavené ceny jde vidět např. tady:

topná patrona (cz) - 247 Kč + poštovné
topná patrona (čína) - 31 Kč včetně poštovného

To že mají přemrštěné ceny vím taky, viz krokáč, který maí v microconu za 150 mají tady za 420. Každopádně tě to nikdo nenutí kupovat zrovna tam a pokud to najdeš jinde levněji tak směle do toho. My od nich taky bereme jen to nejnutnější, ale v jistých chvílích vítězí fakt, že prodejnu mám cca 5 min od baráku, protože se mi nechce, nebo nemůžu čekat 14 dní až mi to z Číny dojde.
Kolejnice podložená není, jak psal Aleš, ta je rovná dost. Jinak v desce jsou otvory se závitem pro šroubky. Rovné to je, ale počítej že po vytištění asi 5 kg struny se ti to mírně prohne. Uprostřed se utvořil lavor, kdy úchylkoměr hlásí 0,15mm rozdíl oproti krajům, takže asi budu desku muset vyměnit.
Elektrochemik holdující strojařině :-)
Doma: HOLZMANN 1222P, Holzstar DB 450, RP2300FCXJ, KITin1900HF
Práce: Gravos - GV30 s vřetenem Isel 750W, M3K 260, GV21 2A; StepFour - Precise 760; Comagrav - Zonda; CNC Singular - Airbrush; Felixprinters - Felix 3.1
pcz
Příspěvky: 70
Registrován: 4. 9. 2014, 11:36

19. 8. 2015, 11:15

prochaska: aha, chápu to správně, že ty kolejnice se podkládají proto, že nemusí být rovné a ten podklad (zfrézovaný) je rovný a jakoby ty kolejnice narovná - ale to je potřeba jen pro velkou zátěž, která se na 3d tiskárně neprojeví?

4rest: ok, no ještě jsem takový stoleček neviděl. Bude to asi speciálně vyrobeno na míru pro ty Felix tiskárny. Ale jestli se to prohne pod tíhou plastu tak to se mi zdá nějaké divné a nebo nemám odhad. Každopádně super je, že je lehký!

Jak vlastně měříš tu rovinatost? Je to pomocí nějakého takového budíku, který jezdí po nějaké super rovné ploše? Chtěl bych si ho pořídit a našel jsem různé za různou cenu 700 - 3000 Kč. Váhám, který je dobrý, nebo aspoň která značka.

0,15mm se mi zase nezdá tak hodně, že už je potřeba výměna, způsobuje ti to nějaké problémy?

Ještě řeším jednu věc. Na cncshopu jsou u kolejnice HGW15CC uvedeny šouby M4 x 16 a u kolejnice HGW20CC šrouby M5 x 18.
Když se podívám na schéma, tak malé d = 4.5 mm a u druhé kolejnice d = 6 mm. Znamená to, že šroub M4 má vůli 0.5mm u té první a u té druhé M5 vůli 1mm ?
Chtěl bych tu kolejnici přišroubovat k hliníkovému profilu HFS5-2020 a ten má díru 6mm. Kolejnice HGW20CC by na ten profil seděla, ale šroub M5 by plaval v kolejnici i v profilu. Muselo by se to hodně dotáhnout. Pak bych na ten vozík přišrouboval hliníkový stoleček a byla by hotova jedna osa :-)
4rest
Příspěvky: 599
Registrován: 7. 10. 2014, 5:13
Bydliště: Praha

19. 8. 2015, 11:39

Neviděl bych to na tíhu plastu, ale teplotní deformaci, když máš ohřátý stolek na 110°C tak se to může polamu deformovat.
Jednoduše upnu hodinky od sometu to držáku a párkrát přejedu osou ve směrech x a y manuálním řízením.
Když tavíš strunu 0,3 mm, tak už to začneš u rozměrnějších výrobků vidět pouhým okem. Prostě ve středu je to OK, ale na krajích je jakoby rozlité, no a když na krajích je to OK, tak ve středu to nedrží na podložce.
Elektrochemik holdující strojařině :-)
Doma: HOLZMANN 1222P, Holzstar DB 450, RP2300FCXJ, KITin1900HF
Práce: Gravos - GV30 s vřetenem Isel 750W, M3K 260, GV21 2A; StepFour - Precise 760; Comagrav - Zonda; CNC Singular - Airbrush; Felixprinters - Felix 3.1
prochaska
Sponzor fora
Příspěvky: 8450
Registrován: 16. 7. 2006, 12:33
Bydliště: Praha Bohnice + Roudnice nad Labem
Kontaktovat uživatele:

19. 8. 2015, 12:00

pcz píše:prochaska: aha, chápu to správně, že ty kolejnice se podkládají proto, že nemusí být rovné a ten podklad (zfrézovaný) je rovný a jakoby ty kolejnice narovná - ale to je potřeba jen pro velkou zátěž, která se na 3d tiskárně neprojeví?
Kolejnice se podkládají, když se "honí" setiny a tisíciny milimetru. Kolejnice jsou (typicky) rovnější než pouhá frézovaná drážka a podkládají se aby se naopak nezkroutily a aby byly rovnoběžné a ležely ve stejné rovině.

Odhaduju, že u té odlehčené hliníkové podložky to spíš dopadne tak, že kolejnice naopak narovná podložku :-)
pcz píše:Když se podívám na schéma, tak malé d = 4.5 mm a u druhé kolejnice d = 6 mm. Znamená to, že šroub M4 má vůli 0.5mm u té první a u té druhé M5 vůli 1mm ? Chtěl bych tu kolejnici přišroubovat k hliníkovému profilu HFS5-2020 a ten má díru 6mm. Kolejnice HGW20CC by na ten profil seděla, ale šroub M5 by plaval v kolejnici i v profilu. Muselo by se to hodně dotáhnout. Pak bych na ten vozík přišrouboval hliníkový stoleček a byla by hotova jedna osa :-)
Šroubový spoj v základu funguje tak, že šroub k sobě přitiskne součástky a ty na sobě pak drží vlastním třením. Pokud to tak nejde z nějakého důvodu udělat, musí se použít lícovaný šroub + přesná díra, kolík, nějaká boční opěrka a podobně.
pcz píše:Jak vlastně měříš tu rovinatost? Je to pomocí nějakého takového budíku, který jezdí po nějaké super rovné ploše? Chtěl bych si ho pořídit a našel jsem různé za různou cenu 700 - 3000 Kč. Váhám, který je dobrý, nebo aspoň která značka.
Pro tyhle účely by měl stačit nějaký obyčejný, třeba http://www.sometcz.com/obchod/indikator ... -3x0-01-mm.
Aleš Procháska
pcz
Příspěvky: 70
Registrován: 4. 9. 2014, 11:36

19. 8. 2015, 1:19

Aha já myslel, že tlakem ze strany by to mohlo ujet, když je to šoubované. Tak to je super, takže z hliníkových profilů by šel postavit tuhý stroj.
Vrtá mi ještě hlavou jak se ty vedení seřizujou. Když dám lineár na hliníkovou navrtanou desku, tak to může být navrtané křivě (což je asi normální, nikdo nenavrtá setiny nebo mikro přenost), takže ta kolejbude na desce natočená šikmo a nebude na ní ležet na cele ploše. Okem to asi nepůjde vidět. Přišroubuje se to a pak se navrtá díra pro druhe vedení, aby se mohlo otáčet na šroubu (tnz. aby se mohl nastavit směr). Vezme se ten číselný indikátor, připevní se nějak na vozíček na té přišroubované kolejnici a druhá kolej se natočí tak, aby byla přesně paralelně s tou druhou a až pak se to vrtne? Nebo se to navrtá přišroubujou se kolejnice, ale díky té vůli 1mm na šroubek to lze dostavit a pak se to přitáhne. To by znamenalo, že umístění děr na šrouby musí být v toleranci aspoň do 1mm. Nechápu, že se tady na fóru řeší setiny a víc. To snad doma ani nejde udělat.

Indikátory jsem už prozkoumal. Cenově přijatelné jsou jen ty 2 somety: 0,01 a 0,001. Ostatní za tisíce jsou z říše snů. Víc se mi líbí ten mikro. Zobrazí přímo setiny milimetru (půl hodinek pro 1 mm a druhá pulka pro další) + ručička udávající tisícinu. Přesnost je 0,005 mm. Jenom je divné, že to nemá žádné uchycení, nějakou dírku na šroubek nebo něco, bude se to blbě uchycovat k vozíčku.
RaS
Příspěvky: 8843
Registrován: 26. 3. 2009, 9:12
Bydliště: Úvaly

19. 8. 2015, 1:24

vrtat díry s přesností do 1mm zvládne každej zámečník po deseti pivech ručně :D .. pokud k tomu ale budeš přistupovat takhle, tak si to radši nech někde udělat.. není problém do toho stolku zafrézovat dvě rovnoběžné hrany (pro každou kolejnici jednu) ke které to přitáhneš a budeš to mít "rovně"
věčný rýpal,který musí mít poslední slovo, odpůrce low-cost zařízení končících v naprosté většině případů v hromadě šrotu
uživatelé hýbátek, kteří mají z mých příspěvků celoživotní trauma nechť si mé příspěvky VYPNOU
prochaska
Sponzor fora
Příspěvky: 8450
Registrován: 16. 7. 2006, 12:33
Bydliště: Praha Bohnice + Roudnice nad Labem
Kontaktovat uživatele:

19. 8. 2015, 1:46

Úchylkoměr uchycení má, to je ta upínací stopka (obvyklý průměr 8h6). Za tu se upevňuje do stojánku (http://www.sometcz.com/obchod/stojanky- ... ni-aretaci) nebo třeba nějakého speciálního přípravku, některé úchylkoměry se dají upnout i shora do vřetena (ale to se obvykle řešívá jinak). Nevím na co všechno ho chceš používat, ale myslím, že pro tebe bude vhodnější ten setinový. Taky je vcelku zbytečné se pídit po nějakých drahých produktech, když mi to slouží jen pro zjištění rovné/křivé :-)

Je dobré vědět, že existují i páčkové úchylkoměry http://www.sometcz.com/obchod/indikator ... -1x0-01-mm (mají tam i levnější), ty jsou možná trochu univerzálnější, ta páčka se dá různě sklopit, takže se dá měřit i "za rohem". Samozřejmě nejlepší je mít oba a to každý v setinovém i tisícinovém provedení a pak ještě jednou totéž v digitální verzi :-)
Aleš Procháska
chb
Příspěvky: 3913
Registrován: 12. 3. 2013, 7:24
Bydliště: Havl. Brod

19. 8. 2015, 2:25

nějak mi uniká směr této diskuse - Chápu dobře, že jde o 3D tiskárnu ?
z prvotního požadavku rovné hliníkové desky 4 mm, která sama o sobě je už skoro luxus na 3D tiskárnu, zde máme totéž s žebry, přidali jsme už i lineáry a zvažujeme to přeměřit indikátorem - 0,001
A pak se na tom bude tisknout z hmoty, která se nám po vychlazení deformuje o víc jak 1 % (tj. na rozměru desky 300mm se to smrskne/deformuje o 3 mm)

Prvotní bych řekl, že není absolutní rovinnost té desky, ale to, zda ji a vše k ní namontované dokážu dost rychle ohřát, a aby to bylo i lehké a nemusel jsem pořizovat kdovíjak silné KM pro dostatečně rychlý pohyb.

Stejně pak nejslabší místo bude kvalitní hmota a její přesné podávání a ohřev.
Víťa - BF20 - upraveno na CNC + Mach3 + SS, soustruh CJM250, MK3 Průša, ostřička nástrojů
pcz
Příspěvky: 70
Registrován: 4. 9. 2014, 11:36

19. 8. 2015, 4:09

Co se týče té desky tak ano. Ale ostatní uvažuju pro návrh cnc, tak jsem se tak mezi řečí zeptal.
No luxus to není, protože i 4rest píše, že má odchylku 0,15 mm na povrchu a už chce měnit stoleček (ale strunu má nejspíš 3mm, strunu 0,3 mm jsem ještě neviděl :-)).

Nějak mi z toho všeho vyplynulo toto: hiwin 20mm kolejnice s vozíčkem k ní je přišroubovaná hliníková deska. Pro 3d tiskárnu by to bylo asi ok, že? Ale pro cnc - řekněme takové malé hobby lowcost mikro cnc na stůl?
idea osy Y
idea osy Y
prochaska: co je teda lepší, páčkový nebo ten kuličkový - chtěl bych s tím měřit rovnost povrchu, souběžnost stran - v mikro tam žádný do 2 litrů nemají. Proč je vlastně vhodnější ten setinový a ne mikro, vždyť ten mikro musí být přesnější.

Ras: no právě, nemám žádné cnc a ručně bych to nedal, takže proto jsem se ptal kolik tak běžně stojí hliníkové díly. Třeba nějaké podložky s navrtanýma dírama, které by se daly na vozíček, trojúhelníkové spojky profilů apod. ať to můžu navrhnout tak ať to stojí co nejmíň, ale zároveň se zachová tuhost. Jestli je to litr a víc za každý hliníkový drobek, tak to pak asi nemá cenu dělat moc dílů :roll:
prochaska
Sponzor fora
Příspěvky: 8450
Registrován: 16. 7. 2006, 12:33
Bydliště: Praha Bohnice + Roudnice nad Labem
Kontaktovat uživatele:

19. 8. 2015, 4:34

Pro mikrocnc by to asi takhle šlo, ale muselo by to být opravdu mikro (délka pojezdu srovnatelná s šířkou kolejnice, ...).

Setinové hodinky bych použil proto, že celkový rozsah tisícinových bývá 1 mm, setinových 10 mm. U zmiňované desky prohnuté o 0.3 mm se při přejezdu protočí tisícinové hodinky třikrát dokola a v tom už se člověk blbě orientuje. U setinových je to třetina otáčky ručičky, tam už se dá uhlídat, odkud kam ručička poskakuje a o kolik to mám podložit (například). Na tisícinové hodinky se křivě podívám a ukazují něco jiného (doslova - přiblížím obličej ke stojánku a ten se jen vyzařováním tělesného tepla natolik prohne, že je to na ručičce vidět).

Jestli použít klasické hodinky nebo páčkové je jen otázka polohy při použití a měřicího rozsahu (páčkové mají menší), jinak pro tyhle základní účely je to asi fuk.
Aleš Procháska
pcz
Příspěvky: 70
Registrován: 4. 9. 2014, 11:36

19. 8. 2015, 5:06

délka pojezdu srovnatelná s šířkou kolejnice
jako, že to bude jezdit 20mm, když kolejnice je široká 20mm :-) jó když se to vynásobí 15x... Neo7CNC to tak má, akorat místo kolejnice s vozíkem má přímo lineární modul.

Já jsem myslel, že ten velký číselník, který je od 0 do 19 zobrazuje setiny tzn. stlačím 1mm a velká ručka se posune na 10 stalčím víc a přetočí se. A ono je to opačně - stlačím 1mm a malá se otočí na pozici 10 a velká se 5x protočí. Proč udělali rozsah do 20, to mám počítat i nohama? :-/

Ten setinový je na odpočet lepší, souhlasím.
4rest
Příspěvky: 599
Registrován: 7. 10. 2014, 5:13
Bydliště: Praha

19. 8. 2015, 7:56

No já toho felixe mám a je tam HIWIN 12ka a 15ka. Takže 20ka je docela dost, navíc u tohoto typu stroje potřebuješ vysokou dynamiku a ty navrhuješ něco co bude mít šílenou hybnost. Právě ta vysoká hybnost ti způsobí, že nebudeš moci používat trysky s průměrem 0,3mm, strunu mám normální, ale jednu trysku mám ultra tenkou, nejtenčí co do toho šla sehnat, kůli tomu že na tom tisknu mikroreaktory. Stoleček jsem dneska vyměnil a už zase tisknu jako o život, protože teď to pěkně sedí a nic se nekroutí, až tam budu mít zase lavor tak mi budou nadávat co to dělám za prasárny a budu to muset přefrézovávat.
Jestli ti můžu dobře radit, tak si kup rebela
http://www.jrc.cz/kategorie_3d_tisk_sta ... d_tiskarny" onclick="window.open(this.href);return false;
ten pořídíš do 13k, a potom co se s ním naučíš, tak si jej můžeš upravovat jak chceš do aleluja. Navíc filozofie takovéto tiskárny je taková, že koupíš první a další si už vytiskneš a koupíš jenom to co vytisknout nejde, Arduino, trysky , krokové motory atd. No a tam už si to můžeš pozměnit k obrazu svému.
Ušetříš s tím spoustu času a peněz a třeba začneš konkurovat Průšovi. Jinak měl jsem možnost v ParalelPolisu tisknout jak na Průšovi, tak na Rebelovi a Rebel se mi líbí víc, ta základní konstrukce z profilů je bytelnější, takže se nerozvibruje jako Průša při vyplňování prostoru mezi dvěma kružnicemi o blízkém průměru.
Elektrochemik holdující strojařině :-)
Doma: HOLZMANN 1222P, Holzstar DB 450, RP2300FCXJ, KITin1900HF
Práce: Gravos - GV30 s vřetenem Isel 750W, M3K 260, GV21 2A; StepFour - Precise 760; Comagrav - Zonda; CNC Singular - Airbrush; Felixprinters - Felix 3.1
prochaska
Sponzor fora
Příspěvky: 8450
Registrován: 16. 7. 2006, 12:33
Bydliště: Praha Bohnice + Roudnice nad Labem
Kontaktovat uživatele:

19. 8. 2015, 8:44

pcz píše:Já jsem myslel, že ten velký číselník, který je od 0 do 19 zobrazuje setiny tzn. stlačím 1mm a velká ručka se posune na 10 stalčím víc a přetočí se. A ono je to opačně - stlačím 1mm a malá se otočí na pozici 10 a velká se 5x protočí. Proč udělali rozsah do 20, to mám počítat i nohama? :-/
Jsem na to koukal a tohle je takový hybrid vlastně s dělením 1/500 mm, ne 1/1000 :-) Ale taky nedoporučuju.
Aleš Procháska
pcz
Příspěvky: 70
Registrován: 4. 9. 2014, 11:36

4. 5. 2016, 8:59

4rest: Můžu se prosím zeptat jak tam máš tu podložku uchycenou?

Našel jsem 3 druhy podložek:

916 Kč - Hliníková podložka pro 3D tiskárny Felix
1630 Kč - Vyhřívaná podložka pro 3D tiskárny Felix 3.x
2290 Kč - Vyhřívaná podložka pro Felix Pro 1

Odhaduju, že ty dvě mají podle mě 3 díry se závitem a ta třetí nějaký magnetický systém. Nedá se ale koupit to rameno co ji drží.
Jen tak mimochodem, jak je to stabilní? Říkal jsem si, že lineár nahoře a po straně je super nápad, ale pak mi došlo, že se celá ta podložka pohybuje a drží na ramenu, které se pohybuje nahoru a dolů, takže to asi nebude moc robustní. Říkám si, že určitě máš problém s vyrovnáním te podložky aby byla přesně vodorovně (jestli se to dá vůbec nastavovat). A pokud to tiskne rychle, tak ta podložka musí mít setrvačnost a musí hýbat s celým ramenem, které pak může uhnout dolů a nepovede se celá vrstva. Jak ti to vlastně tiskne?
Odpovědět

Zpět na „Zacinam stavet a nevim jak na to“