MOT jako elektromagnet

Uživatelský avatar
pafik
Příspěvky: 3084
Registrován: 10. 2. 2013, 5:07
Bydliště: Praha 4

23. 5. 2019, 9:51

kenybz píše: 23. 5. 2019, 8:59 na magnet k vrtačce klidně 2 jak přimagnetuješ kus železa tak se magnetický obvod uzavře a proud klesne.
Blbuvzdorné to ovšem nebude pokud to někdo zapne bez přimagnetovaného materiálu...bych tam mrskl nějakou předřazenou větší žárovku a ta omezí proud a svitem upozorní...sice je to takové edisonské řešení ale fungovalo by :) no ta žárovky by měla být trochu větší nad 200W
To platí u střídavého proudu, ale pro magnet musíš použít stejnosměrný, jinak ti to 50x za vteřinu ulítne :) . A tam se uvažuje jen ss odpor vinutí.
Když už má člověk frekvenční měnič, tak si může k odmagnetování nastavit nižší napětí, aby nevařil tu tlumivku. :)
peter1
Příspěvky: 638
Registrován: 24. 4. 2010, 8:00
Bydliště: vychodne slovensko

1. 6. 2019, 6:53

Mna by zaujimalo keď na ten magnet prihodim tu platňu s original magnetu či to bude držať aj tak samozrejme ju skrátim lebo je dlha..
139.jpg
sustruh sv18 ,vrtačka
Uživatelský avatar
Zdenek Valter
Příspěvky: 5458
Registrován: 9. 1. 2009, 5:16
Bydliště: Ústí n. L.

2. 6. 2019, 1:09

peter1 píše: 1. 6. 2019, 6:53 Mna by zaujimalo keď na ten magnet prihodim tu platňu s original magnetu či to bude držať aj tak samozrejme ju skrátim lebo je dlha..139.jpg
Obávám se, že to takhle nepůjde - ale nechť promluví povolanější ;-)
Záleží jak je konstruovaný magnetický obvod - tohle bohužel nevím.
Můj rozum mi říká, že ty ovály jsou póly toho magnetu.
Hobbík - obráběč i 3D tiskař začátečník - strojní park je konečně instalován
obráběč
Příspěvky: 289
Registrován: 23. 4. 2015, 12:16

2. 6. 2019, 4:11

Nezkoušel jste někdo vyrobit nějaký menší stůl s neodymovými magnety ? nebo kde sehnat návod jak na to.
Přílohy
index.jpg
index.jpg (5.39 KiB) Zobrazeno 8027 x
Uživatelský avatar
fmodel
Příspěvky: 10253
Registrován: 26. 10. 2011, 10:37
Kontaktovat uživatele:

2. 6. 2019, 4:33

Návod jsem viděl ale neuložil :(
http://www.rm-reznicek.cz" onclick="window.open(this.href);return false;
peter1
Příspěvky: 638
Registrován: 24. 4. 2010, 8:00
Bydliště: vychodne slovensko

2. 6. 2019, 4:51

Zdenek Valter píše: 2. 6. 2019, 1:09
peter1 píše: 1. 6. 2019, 6:53 Mna by zaujimalo keď na ten magnet prihodim tu platňu s original magnetu či to bude držať aj tak samozrejme ju skrátim lebo je dlha..139.jpg
Obávám se, že to takhle nepůjde - ale nechť promluví povolanější ;-)
Záleží jak je konstruovaný magnetický obvod - tohle bohužel nevím.
Můj rozum mi říká, že ty ovály jsou póly toho magnetu.
No podla mna by ta platna mohla robiť robotu ktoru robia magneticke bloky
sustruh sv18 ,vrtačka
Uživatelský avatar
elbarto
Příspěvky: 5440
Registrován: 22. 5. 2014, 10:27
Bydliště: Prague

2. 6. 2019, 5:52

To peter: ... kdysi tady někdo kuchal spálený magnet a dával fotky. Mám pocit, že pod deskou byly řady pólových nástavců na kterých byly cívky. Potom to mám obavu nepůjde.
To obrábeč: nápad dobrý spíš uvažuju, jak to potom srovnáš, respektive kdo si bude chtít zadělat brusku hyper magnetickým svinstvem ?
Uživatelský avatar
fmodel
Příspěvky: 10253
Registrován: 26. 10. 2011, 10:37
Kontaktovat uživatele:

2. 6. 2019, 7:03

elbarto píše: 2. 6. 2019, 5:52
To obrábeč: nápad dobrý spíš uvažuju, jak to potom srovnáš, respektive kdo si bude chtít zadělat brusku hyper magnetickým svinstvem ?
Ten vršek jsou jen pólové nástavce nebo jak se tomu říká ,neodymy jsou uvnitř a přesouvaj se v šuplíku .
http://www.rm-reznicek.cz" onclick="window.open(this.href);return false;
Uživatelský avatar
Zdenek Valter
Příspěvky: 5458
Registrován: 9. 1. 2009, 5:16
Bydliště: Ústí n. L.

2. 6. 2019, 7:33

peter1 píše: 2. 6. 2019, 4:51 .......

No podla mna by ta platna mohla robiť robotu ktoru robia magneticke bloky
No já bych rád viděl ten magnet rozebraný - pak by se dalo vymýšlet jestli to jde nebo ne.
Jinak to jsou jen dohady.
Hobbík - obráběč i 3D tiskař začátečník - strojní park je konečně instalován
obráběč
Příspěvky: 289
Registrován: 23. 4. 2015, 12:16

2. 6. 2019, 8:15

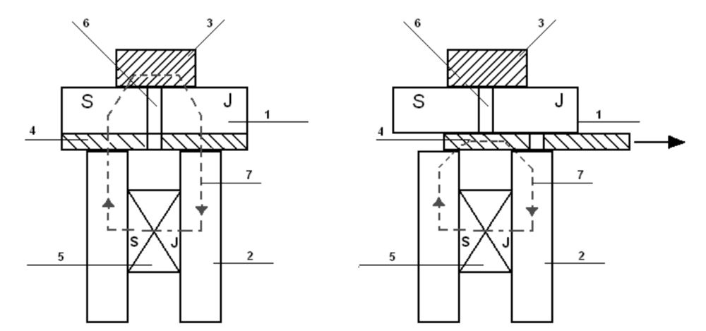
Našel jsem jen shéma posouvá se tam jakási planžeta.
Přílohy
loi.PNG
Grad
Příspěvky: 2084
Registrován: 13. 7. 2014, 9:32

2. 6. 2019, 8:59

to jsou pernamentní upínací magnety - ten princíp bude asi obdobný jako u břemenových magnetů a princíp je ve vlákně tady:
viewtopic.php?f=53&t=25531#p263671
ale abych nebyl úplnej pes, tak něco páchal na svém kanálu YT Stefan Gotteswinter

odmagnetování prosím řešte zase jinde, třeba ve vlákně tady:
viewtopic.php?p=41845#p41845

No a teď bych se rád něco dozvěděl ohledně tématu tohoto vlákna - elektromagnetický pernamentní upínání, princíp a jak funguje a zda by šlo nějak spáchat s MOTem
Uživatelský avatar
robokop
Site Admin
Příspěvky: 23265
Registrován: 10. 7. 2006, 12:12
Bydliště: Praha
Kontaktovat uživatele:

3. 6. 2019, 6:28

zpet k tematu
mot a blok contilitiny
Přílohy
magnet.jpg
Vsechna prava na chyby vyhrazena (E)
Grad
Příspěvky: 2084
Registrován: 13. 7. 2014, 9:32

3. 6. 2019, 9:40

pěkné, ale držel bych se od toho dál, je to asi jenom elektromagnet, takže jak blikne elektrika ozve se Heuréka :lol:
Chtělo by to opravdu udělat jako EPM upínač něco v tomto gardu:
https://dspace.cvut.cz/handle/10467/795 ... tribute=cs
https://en.wikipedia.org/wiki/Electropermanent_magnet
Uživatelský avatar
elbarto
Příspěvky: 5440
Registrován: 22. 5. 2014, 10:27
Bydliště: Prague

3. 6. 2019, 9:57

Každý máme jiné priority. Za sebe magnet na manipulaci radeji koupím profi permanent z druhé ruky. Po fórech se to občas objevují, ceny velmi lidové, kupující moc nejsou. Spáchat z motu magnet na vrtjadu nebo brusku a uplně nejlépe sinus je jiná kávička, tyto magnety už stojí docela raketu. Čínan toho má dost, ale pár kusů mi speditér nebude řešit :-(
Uživatelský avatar
robokop
Site Admin
Příspěvky: 23265
Registrován: 10. 7. 2006, 12:12
Bydliště: Praha
Kontaktovat uživatele:

3. 6. 2019, 10:21

elbarto a jini plny souhlas
zdravi a zivot mame jen jeden
Vsechna prava na chyby vyhrazena (E)
Odpovědět

Zpět na „Zacinam stavet a nevim jak na to“