"přetaktování" 3f asynchronního motoru

ostatní motory, vřetena, regulace, snímaní otáček a jiné
Uživatelský avatar
Thomeeque
Příspěvky: 9521
Registrován: 30. 1. 2012, 10:20
Bydliště: Mimo ČR

27. 9. 2013, 4:42

Ahoj,

mám motor následujících parametrů:

Obrázek

a provozuji ho na měniči EMOTRON DFE23-02, který je schopen jít až do 200Hz.

Při krátkém testu nebyl pro motor žádný viditelný, slyšitelný či cítitelný problém pracovat na vyšší než nominální frekvenci (50Hz) a proporcionálně vyšších otáčkách a to klidně i při 150Hz (víc jsem raději neriskoval, už to byl docela hukot a já ani neměl motor nějak ukotvený). Vyšší točky (nad 920RPM) by se mi asi občas mohly hodit, proto bych se chtěl poptat, jaká jsou úskalí, jak je to s momentem (výkonem), jestli takto někdo motor provozujete atp.

Už jsem to probíral s oscarem, tak něco vím či tuším, ale budu dělat, že ne :)

No, hlavně by se to prý asi nemuselo líbit ložiskům, na druhou stranu mezní rychlosti kuličkových ložisek (což ale nevím, jestli je validní srovnání) pro vnitřní otvor cca 14mm se pohybují kolem 30'000RPM..

Dík, T.
Naposledy upravil(a) Thomeeque dne 27. 9. 2013, 6:20, celkem upraveno 1 x.
mimooborová naplavenina • kolowratský zázrak™ • NPS • GCU • HirthCalc • ncDP.ino
testone
Sponzor fora
Příspěvky: 7534
Registrován: 3. 12. 2010, 5:56
Bydliště: Slaný

27. 9. 2013, 5:32

pro 6002 (d=15, to odpovídá osazení na pr. 14) jsou v katalogu ZKL mezní otáčky pro mazání tukem 21000/1min
jsou omezeny hlavně vývinem a odvodem tepla, uvažován je dlouhodobý provoz (desítky tisíc hodin)
při takovémto použití není co řešit
max to začne smrdět a chrastit, tak se to zastaví a vyměněj se ložiska za 50,-
I kdyby se to kouslo, co se stane?
V čem je problém?
Obvykle se dějí věci obvyklé. Méně často se dějí věci neobvyklé a zcela vyjímečně se dějí věci vyjímečné...
Masturn 40 CNC, Hermle UWF1200H CNC a pár klasik
http://www.radialengine.cz" onclick="window.open(this.href);return false;
http://www.autopejsek.cz" onclick="window.open(this.href);return false;
RaS
Příspěvky: 8842
Registrován: 26. 3. 2009, 9:12
Bydliště: Úvaly

27. 9. 2013, 5:47

ložiska jsou stejný jak pro 2polovej kterej točí cca 3000 tak pro 6ti polovej kterej máš a točí třetinu takže i dkyž pujdeš na 50Hz tak co se týká otáček na tom budeš uplně stejně jak 2polová varianta..
věčný rýpal,který musí mít poslední slovo, odpůrce low-cost zařízení končících v naprosté většině případů v hromadě šrotu
uživatelé hýbátek, kteří mají z mých příspěvků celoživotní trauma nechť si mé příspěvky VYPNOU
Uživatelský avatar
Thomeeque
Příspěvky: 9521
Registrován: 30. 1. 2012, 10:20
Bydliště: Mimo ČR

27. 9. 2013, 5:53

Díky, pánové!
testone píše:I kdyby se to kouslo, co se stane?
V čem je problém?
Chápu jako řečnické otázky :) A jak je to s příkonem/výkonem/momentem nad 50Hz, zůstává stejný, větší, menší..?
RaS píše:ložiska jsou stejný jak pro 2polovej..
To jsem si taky řikal, pak mě napadlo, že to nemusí bejt pravda (vim prd)

T.
mimooborová naplavenina • kolowratský zázrak™ • NPS • GCU • HirthCalc • ncDP.ino
lubos
Sponzor fora
Příspěvky: 5114
Registrován: 2. 5. 2007, 3:47
Bydliště: Praha

27. 9. 2013, 5:57

Hele jsi si s těma polama jistej? Teoreticky bych to chápal ale měl jsem rozbráno několik motorů ( vždy více poly) a nějak to na frekvenci a otáčky nemělo vliv. Ale možná jsem mimo.
XpertMill, Gravos, Ninos, Galaad
IQ156
-1500Kč, -520Kč, -1čokoláda, - 28000Kč
www.freeair.cz www.rotexelectric.eu www.retrofitcnc.cz
rollfree
Příspěvky: 484
Registrován: 3. 12. 2008, 1:23
Bydliště: Brno

27. 9. 2013, 6:12

Thomeeque píše:Chápu jako řečnické otázky :) A jak je to s příkonem/výkonem/momentem nad 50Hz, zůstává stejný, větší, menší..?
Moment pujde dolu. A vykon pozdeji taky. Takovy motor bude mit vyssi indukcnost, nez srovnatelny rychlobezny 2-pol. Takze tam uz nedokazes pri vyssich frekvencich procpat dostatecne velky proud (stejny problem, proc je pro vyssi rychlost krokovani na krokacich treba vysoke napajeci napeti). Takze se zvysujici frekvenci by to chtelo zvysit i napeti (coz Ty ale asi nedokazes, protoze menic Ti vic nez 230V neda).
Soustruh Noell E0177 (Sandra), jenom kličky
Frézka 3040z (Fiona), LinuxCNC
Uživatelský avatar
Thomeeque
Příspěvky: 9521
Registrován: 30. 1. 2012, 10:20
Bydliště: Mimo ČR

27. 9. 2013, 6:21

Aha, jasně, rozumim, dík!

Luboši, Trojfázový asynchronní motor - Princip činnosti:
Otáčky točivého pole jsou dány kmitočtem napájecího napětí odebíraného ze sítě a počtem pólů trojfázového motoru.

Obrázek,

kde f je kmitočet proudu a p je počet pólových dvojic statoru.
Naposledy upravil(a) Thomeeque dne 27. 9. 2013, 6:24, celkem upraveno 1 x.
mimooborová naplavenina • kolowratský zázrak™ • NPS • GCU • HirthCalc • ncDP.ino
rollfree
Příspěvky: 484
Registrován: 3. 12. 2008, 1:23
Bydliště: Brno

27. 9. 2013, 6:23

Pardon, opravuju se. Nemusi mit vyssi indukcnost, nez 2-polovy.
Zbytek plati (ze pri vyssi frekvenci nestaci proud narust dost vysoko).
Soustruh Noell E0177 (Sandra), jenom kličky
Frézka 3040z (Fiona), LinuxCNC
Selic
Příspěvky: 700
Registrován: 17. 2. 2010, 1:58
Bydliště: Novopacko

28. 9. 2013, 2:20

Přetočit motor lze bez problémů, pokud to dovolí zátěž. U soustruhu a vrtačky, žadný problém. Naopak u odstředivých ventilátorů a čerpadel nelze nikdy!
Aby se neprorazilo vinutí, tak měnič od 50Hz víš musí držet maximálně jmenovité napětí motoru a tím mu se vzrůstající frekvnecí klesá moment. A taky se bude víc hřát.
Pokud máš motor na 230V a měnič taky na 230V. Nebo motor zapojený na 400V a měnič napájený 400V, tak při správném opsaní hodnot ze štítku motoru do měniče nelze motor zničit jinak než přehřátím, když se přežené zátěž.

Pak je ještě fígl na motor, který lze zapojit Y/D 400/230V a měnič na 400V jak udržet moment do vyšších otáček.
U siemnsu hledej heslo 87Hz calculation.
Elektrikář, mechaniku dělám jen z donucení a jako hobby.
Uživatelský avatar
Thomeeque
Příspěvky: 9521
Registrován: 30. 1. 2012, 10:20
Bydliště: Mimo ČR

28. 9. 2013, 5:18

Selic píše:A taky se bude víc hřát.
Co se bude víc hřát, měnič nebo motor nebo obojí?
Selic píše:hledej heslo 87Hz calculation.
Koukl jsem, zajímavá finta! Ale 400V měnič bych neměl jak napájet.

Díky, T.
mimooborová naplavenina • kolowratský zázrak™ • NPS • GCU • HirthCalc • ncDP.ino
rollfree
Příspěvky: 484
Registrován: 3. 12. 2008, 1:23
Bydliště: Brno

28. 9. 2013, 5:54

Thomeeque píše:Koukl jsem, zajímavá finta! Ale 400V měnič bych neměl jak napájet.
To neni zadna finta, to je jen aplikace jiz drive zmineneho principu: pri vyssi frekvenci a vysoke indukcnosti civek (ktere jsou spocitane na 50Hz) proste musim dodat vyssi napeti, abych tam stihl za pulperiodu protlacit dostatecny proud. A taky abych prekonal vyssi BEMF. Stejne jako u krokacu nebo u DC motoru, kde se stoupajicim napetim stoupaji otacky. Neni to zadna magie, jen prosta fyzika.
Soustruh Noell E0177 (Sandra), jenom kličky
Frézka 3040z (Fiona), LinuxCNC
Uživatelský avatar
Thomeeque
Příspěvky: 9521
Registrován: 30. 1. 2012, 10:20
Bydliště: Mimo ČR

28. 9. 2013, 6:11

Samozřejmě, ale tady je ten zmíněný obecný princip aplikován specifickym způsobem se zajímavými důsledky a to je ta finta.
rollfree píše:Neni to zadna magie, jen prosta fyzika.
:roll:
mimooborová naplavenina • kolowratský zázrak™ • NPS • GCU • HirthCalc • ncDP.ino
Uživatelský avatar
Zdenek Valter
Příspěvky: 5460
Registrován: 9. 1. 2009, 5:16
Bydliště: Ústí n. L.

28. 9. 2013, 6:31

lubos píše:Hele jsi si s těma polama jistej? Teoreticky bych to chápal ale měl jsem rozbráno několik motorů ( vždy více poly) a nějak to na frekvenci a otáčky nemělo vliv. Ale možná jsem mimo.
No to by teda mělo ;-)
I 3f dvoupólový motor jich má vlastně 6 (dva póly na fázi ;-)
(vlastní magnetické pole se v něm otočí dokola 50x za vteřinu t.j. 3000x za minutu) - u synchonního se tedy rotor točit při 50Hz 3000 otáčkama za minutu
U asynchronního motoru je oproti synchronnímu rotor v tzv. skluzu oproti rotaci magnetického pole a točí se o něco pomaleji cca 2800 otáčkama za minutu.
U nejrozšířenějšího 3f asynchronního motoru s kotvou na krátko se do rotoru indukuje napětí z rotujícího magnetického pole statoru což bez skluzu nelze ;-)
3f čtyřpólový motor jich tedy má 12 a vlastní magnetické pole se v něm otočí při 50Hz 1500 x za minutu
3f šestipólový motoru jich má 18 a vlastní magnetické pole se v něm při 50 Hz otočí při 50Hz za minutu 1000x ( to je asi případ i Tomova motoru ;-)
Hobbík - obráběč i 3D tiskař začátečník - strojní park je konečně instalován
lubos
Sponzor fora
Příspěvky: 5114
Registrován: 2. 5. 2007, 3:47
Bydliště: Praha

28. 9. 2013, 7:34

No mě to právě přijde dost divný, mám rozbraného atase a nějaké ATC vřeteno a třeba to atc vřeteno má cca 24 nástavců a rozhodně tam funguje co 50hz tak 3000tis otáček. Mám pocit že atas má 12 nástavců a pro každou fázi 4 cívky tam by to asi vycházelo.
teoreticky mi to štimuje ale prakticky nějak ne.
XpertMill, Gravos, Ninos, Galaad
IQ156
-1500Kč, -520Kč, -1čokoláda, - 28000Kč
www.freeair.cz www.rotexelectric.eu www.retrofitcnc.cz
RaS
Příspěvky: 8842
Registrován: 26. 3. 2009, 9:12
Bydliště: Úvaly

28. 9. 2013, 10:04

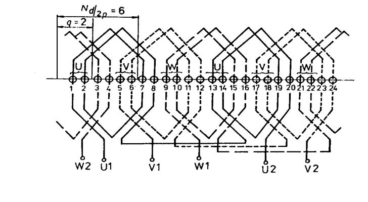
vinutí asynchronu.JPG
to přece záleží jak to je namotaný..ten trafoplech bude stejnej s 24ma drážkama pro 2,4,6 i 8mi pólovej motor... aspoň co si tak vzpomínám..
věčný rýpal,který musí mít poslední slovo, odpůrce low-cost zařízení končících v naprosté většině případů v hromadě šrotu
uživatelé hýbátek, kteří mají z mých příspěvků celoživotní trauma nechť si mé příspěvky VYPNOU
Odpovědět

Zpět na „Ostatní elektromotory“