HŘÍDEL DO VŘETENÍKU

Pravidla fóra
toto forum vyzaduje schvaleni prispevku moderatorem
Odpovědět
Uživatelský avatar
pavlaxy
Příspěvky: 1885
Registrován: 26. 12. 2007, 11:42
Bydliště: Praha

14. 7. 2014, 12:59

[Ahojky všichni :D :P
kdopak mi řekne copak je to za kleštiny ? a jaký hřídel k nim patří nebo dokonce má i výkres.....
odpověď za dva "BLUDIŠŤÁKY" protože bloudím po netu a jsem se zabloudila :(
http://www.c-n-c.cz/viewtopic.php?f=15& ... 57#p144557" onclick="window.open(this.href);return false;

attachment=0]průmD40xd32xM32xL90mm.jpg[/attachment]
Přílohy
průmD40xd32xM32xL90mm.jpg
RaS
Příspěvky: 8845
Registrován: 26. 3. 2009, 9:12
Bydliště: Úvaly

14. 7. 2014, 6:36

mrkni na katalog firmy deprag http://www.deprag.cz/files/katalogove-l ... 2003_c.pdf" onclick="window.open(this.href);return false;
věčný rýpal,který musí mít poslední slovo, odpůrce low-cost zařízení končících v naprosté většině případů v hromadě šrotu
uživatelé hýbátek, kteří mají z mých příspěvků celoživotní trauma nechť si mé příspěvky VYPNOU
Uživatelský avatar
pavlaxy
Příspěvky: 1885
Registrován: 26. 12. 2007, 11:42
Bydliště: Praha

14. 7. 2014, 9:51

Díky RaS :D :P
je to výroba NAREX snad by to mohla být R44 rozměry nejvíce souhlasí ....
nyní hledám v katalozích Narex...je to k nedohledání a v jakém stroji se to používalo ....
asi ČSN242145
pro jednovřetenové automatické soustruhy
TOS -SV18,-SM16,-RM25
Opravte mne prosím a upřesněte
Naposledy upravil(a) pavlaxy dne 14. 7. 2014, 11:18, celkem upraveno 1 x.
Uživatelský avatar
tumlik
Sponzor fora
Příspěvky: 3821
Registrován: 19. 12. 2007, 8:20
Bydliště: já su z Moravskej :-)
Kontaktovat uživatele:

14. 7. 2014, 10:15

Je to ČSN 242145, řada 25. Nejpoužívanější kleštiny vtahované přes vřeteník za závit a standardně dodávané k hrotovým soustruhům velikosti sv18 :wink: Vřetena se na to nedělali, dodávali se k tomu kleštinová pouzdra, která se narazily do Me nebo Mk samotného vřetene :)
http://www.tumlikovo.cz/
Popularizační web nástrojařství a kovoobrábění
Uživatelský avatar
pavlaxy
Příspěvky: 1885
Registrován: 26. 12. 2007, 11:42
Bydliště: Praha

14. 7. 2014, 11:26

Tumlíku Děkuji ,
jsi mne předeběhl než jsem to dohledala ,
je to taková detektivní práce -tedy pro mne-hledání indícií :wink:
Tak jsem u jádra problému jakou hřídel aby to fungovalo na kleštiny a současně na univerzálku
-jo pouzdro na metrický nebo morse kužel aha :) a jak dál nebyl by výkres abych si to prohlédla třeba v řezu...
to vtahování a kde to sehnat...
Se zájmem jsem prošla celý Tvůj web a moc se mi líbí ten renovovaný Schaublin se závitem .
Mám představu že použiji ACservo 1500W které mám.
Naposledy upravil(a) pavlaxy dne 14. 7. 2014, 12:03, celkem upraveno 1 x.
Uživatelský avatar
tumlik
Sponzor fora
Příspěvky: 3821
Registrován: 19. 12. 2007, 8:20
Bydliště: já su z Moravskej :-)
Kontaktovat uživatele:

14. 7. 2014, 11:59

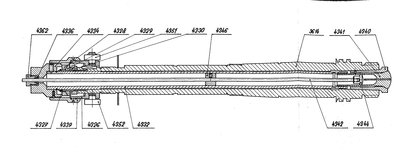
pavlaxy píše: ......-jo pouzdro na metrický nebo morse kužel aha :) a jak dál nebyl by výkres abych si to prohlédla třeba v řezu...
to vtahování a kde to sehnat...
tady to je v řezu, pouzdra na tyto kleštiny byly typicky Me50, na Me40 co byly na s28 a s32 byly menší kleštiny. Vtahouje se to buď rukou přes trubku na jejímýž konci je ruční kolo a nebo přes mechanismus kleštinového upínání, které mělo výhodu v tom, že nebylo třeba zastavovat vřeteno, taky je to vidět v tom řezu :) .
řez vřetenem.jpg
http://www.tumlikovo.cz/
Popularizační web nástrojařství a kovoobrábění
Uživatelský avatar
pavlaxy
Příspěvky: 1885
Registrován: 26. 12. 2007, 11:42
Bydliště: Praha

14. 7. 2014, 12:15

Pouzdro je č.4340
a na konci závit na lícní desku pro univerzálu a podobně
ještě je tam nějaká aretace aby se kleština neprotočila ale drážku na ní nemám...
Hromada součástí až se točí hlava ,třba by to šlo zjednodušit-a zkrátit...
jestlipak Kvako1 pokročil a má upínání přes kleštiny -nic o tom nenapsal....
Uživatelský avatar
tumlik
Sponzor fora
Příspěvky: 3821
Registrován: 19. 12. 2007, 8:20
Bydliště: já su z Moravskej :-)
Kontaktovat uživatele:

14. 7. 2014, 4:00

pavlaxy píše:Pouzdro je č.4340
a na konci závit na lícní desku pro univerzálu a podobně
ještě je tam nějaká aretace aby se kleština neprotočila ale drážku na ní nemám...
Hromada součástí až se točí hlava ,třba by to šlo zjednodušit-a zkrátit...
jestlipak Kvako1 pokročil a má upínání přes kleštiny -nic o tom nenapsal....

Ano, to číslo označuje vložku do vřetene, to co je nahoře oskenované je ze soustruhu S32, na bazoši je to přesně tohle http://stroje.bazos.cz/inzerat/36996609 ... Zebrak.php" onclick="window.open(this.href);return false; v tomto vřeteni by měl být kužel Me40, občas se to objevuje i s kleštinama
Aretace je kaleným kolíkem přes vřeteno, který zapadá do drážky v kleštině, ta tam být musí, jinak to nepovolíš. Já mám několik těchto o kterých se bavíme taky bez drážky a spíš mi to připadá, že to jsou nedodělky :wink:
Ten samotný systém kleštinového upínání vlevo je už takový sofistifikovanější, na stolních soustruzích byly mnohem jednodušší varianty
http://www.tumlikovo.cz/
Popularizační web nástrojařství a kovoobrábění
Uživatelský avatar
pavlaxy
Příspěvky: 1885
Registrován: 26. 12. 2007, 11:42
Bydliště: Praha

15. 7. 2014, 11:26

Ahojky Tumlíku :D :P ,
díky za tip na bazoš...volala jsem tam a nějak to nebude ono ,totiž :
Na bazoši je vřeteno k soustruhu S32 ,a to má Me40 a jiné kleštiny- tedy je nevhodné pro R44
(-z pouzdra by po přebroušení zůstala jen slupka a je vyrezlé ) je za 2.500,- a je použitý...
Ty moje kleštiny jsou původem z NZetu a myslím si že ta drážka tam není právě proto aby je nikdo běžně nepoužíval a naplnila se tak podstat nedotknutelnosti té zásoby 8)
Odpovědět

Zpět na „Nákup“