TOS S28 VESTAVBA V3S Schéma

navody prirucky brozury
prosim oznacujte vlakna podle nasledujiciho klice "Frezka nastrojova FNGJ32"

Odpovědět
tomio
Příspěvky: 7
Registrován: 8. 3. 2012, 6:08

13. 2. 2015, 1:02

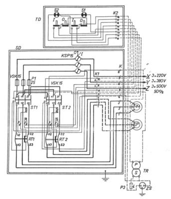
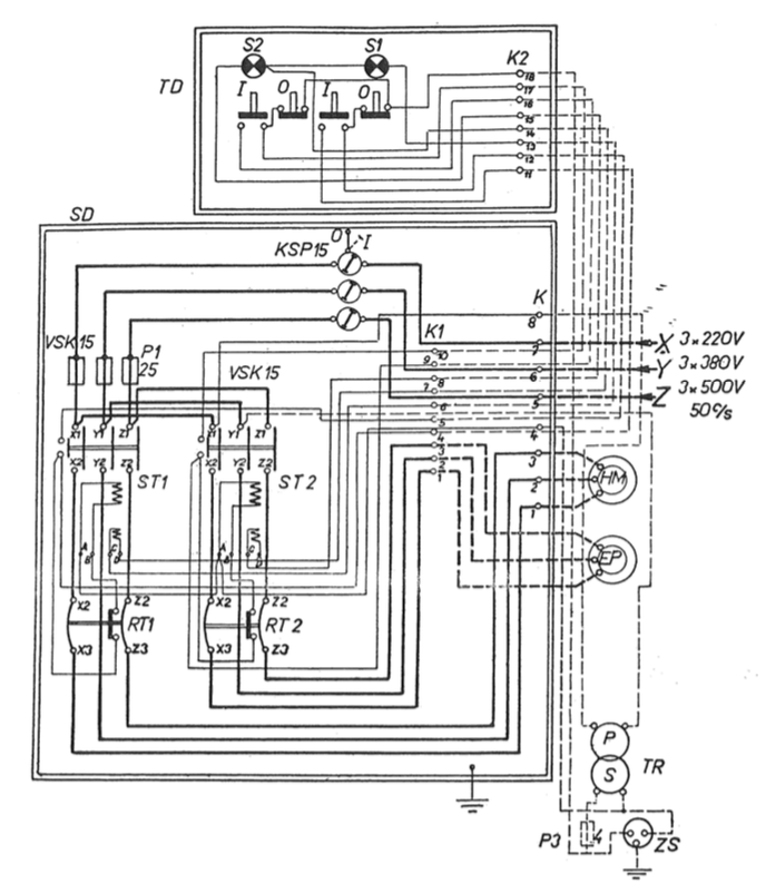
Ahojte, máte prosím k dispozici schéma elektroinstalace k soustruhu S28 z V3S, kdy byla rozvodná skřínka mimo soustruh?

Moc moc díky!

Tom
Uživatelský avatar
Jimmy
Příspěvky: 523
Registrován: 12. 12. 2014, 9:19
Bydliště: Pardubice

13. 2. 2015, 1:19

Jsi si jistý, že byla mimo soustruh? Nějak mě nenapadá, proč by to tak dělali. A i soustruhy, co jsem viděl údajně vymontované z V3S a natřené tou vojenskou barvou měly stykače a vypínače normálně v noze. A i kdyby, tak se tam asi nic jiného krom těch stykačů a jejich ovládání tlačítky+nadproudová relé vymyslet nedá.
Přílohy
Snímek obrazovky 2015-02-13 v 14.16.12.png
Snímek obrazovky 2015-02-13 v 14.15.44.png
Soustruh SN320, Obrážečka Strigon GH400, CNC router Pacer Cadet, TIG AC/DC
Uživatelský avatar
salus
Příspěvky: 1528
Registrován: 1. 9. 2013, 1:30
Bydliště: Chrudimsko

13. 2. 2015, 2:59

Samozřejmě, že existovala možnost, že kromě tlačítek pro zapínání a vypínání hlavního motoru a otočného přepínače byla veškerá instalace v nástěnném oceloplechovém rozvaděči. Nebylo to žádné samo domo, ale dělali to přímo v TOSce při generálkách. Já zrovna tuto variantu mám. Mám i výkres, ale je tak prosáklý olejem, že to skener asi nepobere. Zkus vydržet, já provedu test skenerem a když to nebude čitelné tak to překreslím a pak to sem dám.

To: Jimmy
Tady: http://s-28.rajce.idnes.cz/S-28_modernizace#" onclick="window.open(this.href);return false; je moje S28 po modernizaci. Když se podíváš na poslední fotku, která je ještě z doby kdy soustruh stál u majitele od kterého jsem ho koupil tak na fotce vpravo nahoře na stěně je vidět část toho rozvaděče, ten byl právě pro S28, všimni si taky, že na noze soustruhu už není hlavní vypínač, ten už pak byl právě na té skříni.
S28001.jpg
S28002.jpg
Soustruh: S-28 Žebrák
Stolní vrtačka: TOS V10A
Pásová pila: G5013W/400
Uživatelský avatar
Jimmy
Příspěvky: 523
Registrován: 12. 12. 2014, 9:19
Bydliště: Pardubice

13. 2. 2015, 3:32

No opravdu. To tedy koukám! :shock: Zajímalo by mě, z jakýho důvodu to takto tehdá řešili. Vždyť i ten externí rozvaděč přeci zabíral v té nástavbě cenné místo.
Soustruh SN320, Obrážečka Strigon GH400, CNC router Pacer Cadet, TIG AC/DC
Uživatelský avatar
salus
Příspěvky: 1528
Registrován: 1. 9. 2013, 1:30
Bydliště: Chrudimsko

13. 2. 2015, 3:59

No vždyť je to v tom průvodním dopisu napsaný, že elektrovýzbroj neodpovídala v některých bodech ČSN 34 1630 (Elektrická zařízení pracovních strojů). Ten můj soustruh byl tedy civilní, ale i armáda asi musela tyhle předpisy dodržovat, tenkrát byly všechny ČSN na rozdíl od současnosti závazné.
Naposledy upravil(a) salus dne 13. 2. 2015, 4:35, celkem upraveno 1 x.
Soustruh: S-28 Žebrák
Stolní vrtačka: TOS V10A
Pásová pila: G5013W/400
Uživatelský avatar
Jimmy
Příspěvky: 523
Registrován: 12. 12. 2014, 9:19
Bydliště: Pardubice

13. 2. 2015, 4:15

Aha, ten dopis jsem překouknul.
S těma normama je to dnes mnohem složitější než dříve. Ono třeba co se některých elektro norem týče, tak normy samy o sobě závazné nejsou, nicméně jejich závaznost může vzniknout například z vyhlášky nebo ze zákona, který na ně odkazuje.
Soustruh SN320, Obrážečka Strigon GH400, CNC router Pacer Cadet, TIG AC/DC
Uživatelský avatar
salus
Příspěvky: 1528
Registrován: 1. 9. 2013, 1:30
Bydliště: Chrudimsko

13. 2. 2015, 4:33

No ono je to tak, že normy všeobecně závazné nejsou, ale jak píšeš jejich závaznost může být stanovana jinak. Všeobecně ale platí, že pokud norma stanovuje nějaké požadavky, tak je zapotřebí je ve vlastním zájmu dodržet. Protože pokud by se náhodou stal nějaký průšvih, tak soudní znalec a soud pak vezme příslušnou normu a jede článek po článku, dodržel jsi, dobře, nedodržel jsi - jsi viník. Tak nějak vím o čem mluvím, elektrikou už se 40 let živím.
Soustruh: S-28 Žebrák
Stolní vrtačka: TOS V10A
Pásová pila: G5013W/400
tomio
Příspěvky: 7
Registrován: 8. 3. 2012, 6:08

14. 2. 2015, 2:00

Mooc mooc díky za pomoc!

Tom
Odpovědět

Zpět na „Navody ke strojum, dokumentace“