Stavba vřetena.

ostatní motory, vřetena, regulace, snímaní otáček a jiné
nemo
Příspěvky: 517
Registrován: 8. 9. 2008, 7:31
Bydliště: Kralupy N.Vltavou

26. 3. 2009, 9:53

Ahoj,
tady mám nákres uložení vřetene. Hřídel je uložena do čtyřech přesných
kosoúhlých ložisek, které jsou dané v páru do tandemu a páry proti sobě
back to back. Mezi ložisky je distanční pozdro a jsou stažena přesnou matkou. Rád bych slyšel od vás nějakou kritiku, nebo možnost jiného uložení. Díky za názory. N.
Přílohy
vřeteno.tif
vřeteno.tif (1.08 MiB) Zobrazeno 9224 x
Není vedení jako vedení.
nemo
Příspěvky: 517
Registrován: 8. 9. 2008, 7:31
Bydliště: Kralupy N.Vltavou

26. 3. 2009, 9:58

Obrázek znova.N.
Přílohy
Bez názvu 1.jpg
Není vedení jako vedení.
Monteg
Příspěvky: 1514
Registrován: 30. 10. 2006, 5:37
Bydliště: LOUNY

26. 3. 2009, 10:07

Nevidím distanční kroužky mezi ložisky předpokládám že tam jsou distanční pouzdro spojuje kroužky a jaké je zajištění vnějších kroužků na horním ložisku?
nemo
Příspěvky: 517
Registrován: 8. 9. 2008, 7:31
Bydliště: Kralupy N.Vltavou

26. 3. 2009, 10:13

Nahoře je matka, která tam není nakreslená.N.
Není vedení jako vedení.
Monteg
Příspěvky: 1514
Registrován: 30. 10. 2006, 5:37
Bydliště: LOUNY

26. 3. 2009, 10:44

Jaké jsou rozměry vřetena? Od určité délky se musí počítat s délkovou dilatací hřídele potom se jedno uložení delá pevné a na druhé straně posuvné aby se hřídel mohl kam roztahovat
k
Příspěvky: 814
Registrován: 12. 8. 2008, 12:00
Bydliště: Kosice SK

27. 3. 2009, 7:13

no . rozmeri . otacky . zamyslane pouzitie.. za istych podmienok staci pouzit kulickace s kosouhlim stykom. Pokial to ma byt vacsie vreteno .. tak axialne uchytenie premiestnit len na jednu stranu ... vacsie radialne lozisko ku uchytu nastroja, a staci mensie na druhy koniec. Podla toho co planujete za upinac .. je vhodne zvazit vopred ci vreteno cele nie je vhodne prevrtat ..
nemo
Příspěvky: 517
Registrován: 8. 9. 2008, 7:31
Bydliště: Kralupy N.Vltavou

27. 3. 2009, 8:54

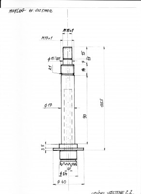
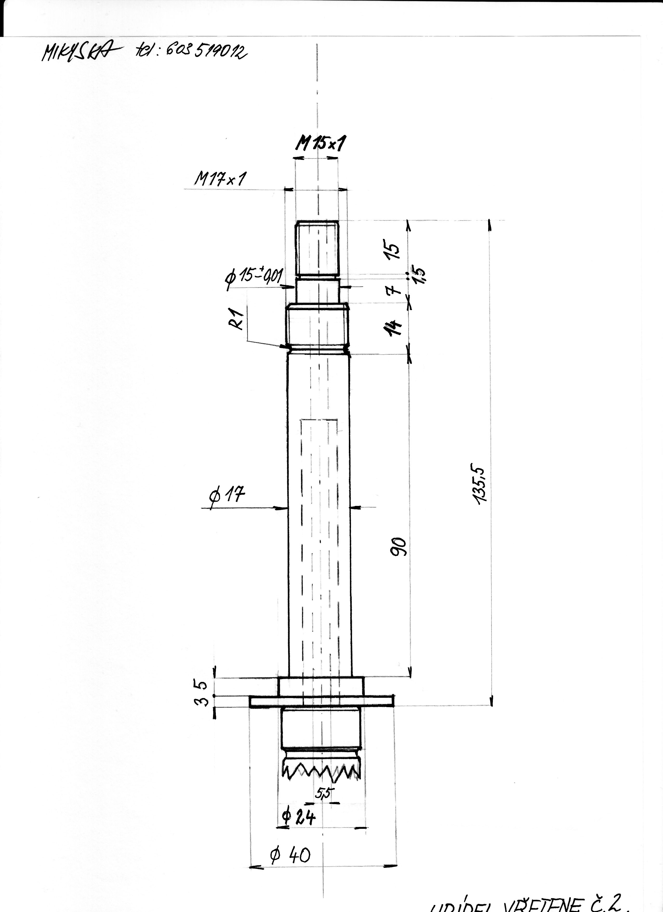
Tady je výkres hřídele, je to stopkový upínač ER 16 - 20. Otáčky
100-30 000.Frézování i železa. Snad. N.
Přílohy
hřídel vřetene č.2.jpg
Není vedení jako vedení.
k
Příspěvky: 814
Registrován: 12. 8. 2008, 12:00
Bydliště: Kosice SK

27. 3. 2009, 9:15

mozno by som skor laboroval dole to chytit do 2x 7203 alebo 7203 .. hore potom napr. 6002. Nahon to bude mat remenom niekde hore ? Pri pouziti uvedenych lozisk ale 30k otacok zabudnite.. bez tlakoveho mazania budu rychle vybehane a ani ich neuchladite. Celkovo take vreteno amatersky mozete dostat max na 12-15k otacok .. potom zacina problem s vyvazenim, teplotami, loziskami, mazanim atd.
nemo
Příspěvky: 517
Registrován: 8. 9. 2008, 7:31
Bydliště: Kralupy N.Vltavou

27. 3. 2009, 10:30

Ložiska jsou s úhlem 25° do 40 000 s tukovým mazivem. Hřídel bude broušená, kalená , teda pokud to bude finančně únosné. Jsou přesná ve třídě ABEC 7-9. Pokud by se dodržely rozměry dané výrobcem ložisek,
tak by to mohlo fungovat. Dal bych to vyvážit dynamicky. Pokud to někdo dělá.N.
Není vedení jako vedení.
k
Příspěvky: 814
Registrován: 12. 8. 2008, 12:00
Bydliště: Kosice SK

27. 3. 2009, 10:37

mozete odkaz na loziska ? to ma teda zaujima lozisko s tak velkym priemerom mazane tukom pri 40k otackach v dlhodobej prevadzke.
nemo
Příspěvky: 517
Registrován: 8. 9. 2008, 7:31
Bydliště: Kralupy N.Vltavou

27. 3. 2009, 12:02

Fafnir 3MMWI CR DUL. Firma Timken, vřetenová ložiska. Tak jsem to zkontroloval a opravdu mají maximum jen 31 000 při tuhém mazivu a
50 000 při oleji. No myslím, že mě bude to maximum 30 000 bohatě stačit.
Normálně se otáčky pohybují do max 20 000. Spíše vidím problém s vyvážením. Nevíte někdo, kdo to dělá? N.
Není vedení jako vedení.
nemo
Příspěvky: 517
Registrován: 8. 9. 2008, 7:31
Bydliště: Kralupy N.Vltavou

27. 3. 2009, 1:56

Chtěl jsem se také zeptat, zda jsou distanční kroužky mezi dvojicí ložisek nutné a jak mají být asi silné. Jsou po celém průřezu ložiska? Třeba jako
tenký plech? Nikde jsem to v datasheetu výrobců ložisek neviděl. N.
Není vedení jako vedení.
milan252
Příspěvky: 122
Registrován: 25. 1. 2009, 7:26
Bydliště: Odry

27. 3. 2009, 4:19

Nevím, ale mi se zdá to uložení do čtyřech ložisek s kosoůhlým stykem zbytečné. Já bych použil dvě natočené proti sobě dole (u nástroje) stáhnuté na vůli KM maticí s pojistnou podložkou. Na vrchu bych požil standartní kuličkové ložisko zajištěné za vnitřní kroužek a vnější kroužek bych nechal s vůlí (H/h) k umožnění tepelné dilatace. Dále závity M15x1 a M17x1 nejsou zrovna standartní (problémy s maticemi). Asi bych použil M14x1 a M16x1, myslím, že by to nevadilo.
nemo
Příspěvky: 517
Registrován: 8. 9. 2008, 7:31
Bydliště: Kralupy N.Vltavou

27. 3. 2009, 4:48

Matice přesné 17x1 a 15x1 axiální nebo radiální vyrábí INA.Cena asi
1000kč. Co ty distanční podložky mezi ložiskama? Jak mají vypadat a jsou nutné? Dík za odpovědi. N.
Není vedení jako vedení.
Monteg
Příspěvky: 1514
Registrován: 30. 10. 2006, 5:37
Bydliště: LOUNY

27. 3. 2009, 5:23

Pokud trváte na daném uložení tak jak chcete zajistit aby obě ložiska měli při zatížení stejný axiální posun kroužků? Pokud nezměníte uložení což bylo doporučeno musíte zajistit aby jedno ložisko nebylo předepnuto neúměrnou sylou a druhé v páru neběželo na volno
Odpovědět

Zpět na „Ostatní elektromotory“