Zohnal som taketo drivere
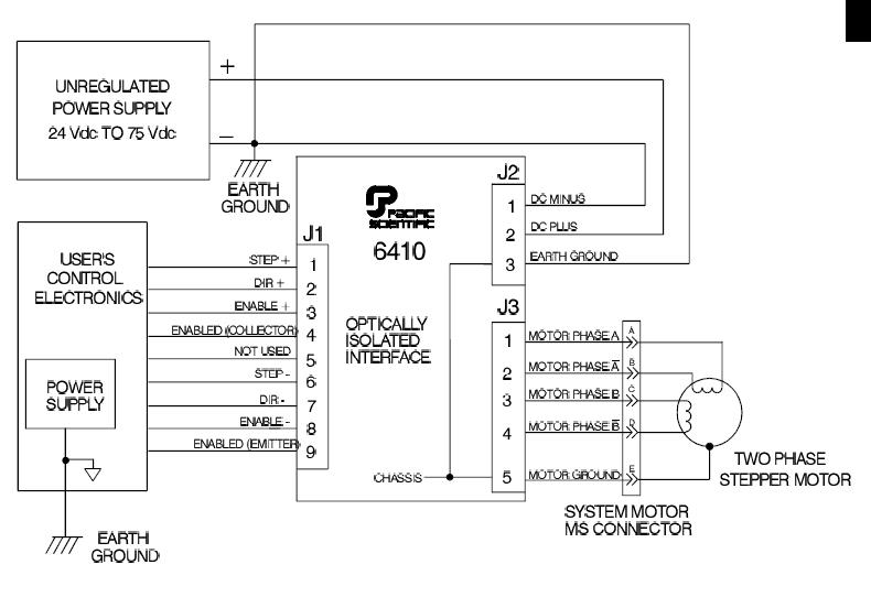
Pacific Scientific 6410
Zaujimalo by ma co znamena ten vstup enable. Zapojil som step/dir a neviem co je to ten enable.
MA 6410 driver
- Přílohy
-
- ma6410rv.pdf
- (1.45 MiB) Staženo 674 x
aha.. rozumiem...
A co k tomu priradit, alebo ako to nastavit napr. v machu???
Na doske je k tomu aj nejaky jumper... moze to sluzit na vyradenie???

A co k tomu priradit, alebo ako to nastavit napr. v machu???
Na doske je k tomu aj nejaky jumper... moze to sluzit na vyradenie???