Harrison TU150U Retrofit

Tovární CNC a apřestavby konvenčních soustruhů
Uživatelský avatar
Meki
Příspěvky: 628
Registrován: 20. 4. 2020, 11:37
Bydliště: Trojanovice

16. 10. 2023, 6:51

Sehnal jsem za pakatel tohoto drobka, malý soustruh Harrison TU150U. Původní systém ani nebudu testovat, když vidím CRT tak je retrofit na LinuxCNC jasnou volbou.

Co jsem zkoumal tak to má 1.43Nm resolverové serva, z driveru leze kvadraturní signál a jsou řízené analogově - to zkusím zachovat, válí se mi v šuplíku mesa 7i77 a k ní 5i25 nebo 7i92.
Dále jsou v rozváděči dva měniče - jeden pro vřeteno a druhý pro revolverovou hlavu, zkusím je taky rozchodit a pokud se to nepovede tak alespoň přečíst parametry abych při náhradě nemusel vařit z vody.

Časem chci taky dodělat hydraulicky ovládané sklíčidlo (příplatkové verze jej měly)

Zatím jásám protože to je první stroj který jsem rozebral a nemá zadřené lože jako mé předchozí stroje :D

Nejprve jsem se pustil do ovládacího panelu abych mohl objednat všechny tlačítka a pod. přikládám foto z Fusionu jak by se mi líbil ideální ovládací panel, do startu oživím jen pár životně důležitých tlačítek a se zbytkem si budu hrát průběžně protože už teď vidím že je tam kopa programování. Než dojedou součástky tak udělám rozborku a sborku mechaniky, už jsem se pustil do turretu.
Přílohy
pohled do rozváděče
pohled do rozváděče
odkrytování
odkrytování
TU150U
TU150U
Návrh panelu
Návrh panelu
popis funkcí panelu
popis funkcí panelu
Uživatelský avatar
zz912
Příspěvky: 1628
Registrován: 25. 5. 2008, 7:16

16. 10. 2023, 6:55

Hezký.
LinuxCNC - MESA 7i96
zz912.webnode.cz
Uživatelský avatar
Meki
Příspěvky: 628
Registrován: 20. 4. 2020, 11:37
Bydliště: Trojanovice

22. 10. 2023, 4:08

Pomalu pokračuju s rozborkou:

Turret - objevil jsem trochu přidřený šnek v revolverové hlavě který otáčí zásobníkem. Nelíbí se mi konstrukce kalené kolo-kalený šnek, kdyby kolo bylo z bronzu a šnek kalený tak by se ty dva materiály do sebe nezadřely. Předělávat to zatím ale nebudu, trochu to začistím smirkem a budu to občas hlídat jestli to vydírání nepokračuje příliš rychle. Jinak ostatní součástky v turretu vypadají v pořádku, vyměním všechny o-kroužky + pár ložisek a můžu ladit s LinuxCNC.
šnekový převod v revolveru TDE 80
šnekový převod v revolveru TDE 80
Vedení a kuličkové šrouby - vypadají ve velmi dobrém stavu, ale krytí je teda nedostatečné. Nenávidím odkryté ložiska s kosoúhlým stykem v domcích kuličkových šroubů. Nechápu jaký je problém hodit tam alespoň podložku aby nebylo vidět na kuličky, takto debilně jsem to viděl i u některých mahovek. Zkusím něco vytočit. Dále chybí stěrače na vedení osy X - dodělám alespoň ze strany pracovního prostoru.

Nátěr - Až budu mít hotový ovládací panel tak mám v plánu skoro všechny plechy hodit na komaxit. Co se týká lože a ostatních dílů které nemůžou na komaxit, tak ty buď od barvy oškrábu a nebo zkusím nějakou PUR barvu.

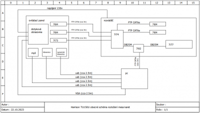
Dotaz na SmartSerial karty mesa - Nikdy jsem s sériovýma kartama od mesy nepracoval, chtěl bych mít takovéto uspořádání:
Harrison TU150U obercné schéma rozložení mesa karet.PNG
Když do 7i92 naflešuju soubor .bit pro 7i77 a 7i74, musím dále ještě někde zapsat které sériové karty budu používat a nebo sériové karty (7i84 a 7i73) se po připojení samy automaticky nahlásí a jejich piny už uvidím v halshow?
Uživatelský avatar
zz912
Příspěvky: 1628
Registrován: 25. 5. 2008, 7:16

23. 10. 2023, 7:53

Hezké blokové schéma, akorát k tomu FTP CAT6e bych doplnil, že se jedná o RS 422 a u PC-Mesa, že se jedná o Ethernet. U karty 7i74 doplň do kterého portu jakou kartu zapojuješ. Teď je to jedno, ale za rok, si pamatovat nebudeš.
nebo sériové karty (7i84 a 7i73) se po připojení samy automaticky nahlásí a jejich piny už uvidím v halshow?
Myslím si, že se přihlásí samy, už si to nepamatuji. Teď jsem procházel svůj *.hal a nic tam nemám. Takže se asi nahlásili sami.

V manuálu píšou:
The sserial driver will auto-detect connected devices, no further configuration should be needed.
Jediné, co je potřeba, aby při načítání hm2, tam bylo " sserial_port_0= "
https://linuxcnc.org/docs/html/man/man9 ... 20modparam
Například já tam mám:

Kód: Vybrat vše

loadrt hm2_eth board_ip="10.10.10.10" config="num_encoders=1 num_pwmgens=0 num_stepgens=5 sserial_port_0=00000000" 
Nenávidím odkryté ložiska s kosoúhlým stykem v domcích kuličkových šroubů.
Tohle znáš?
https://www.nilos-ring.com/default.aspx ... /ID/122936
LinuxCNC - MESA 7i96
zz912.webnode.cz
Uživatelský avatar
Meki
Příspěvky: 628
Registrován: 20. 4. 2020, 11:37
Bydliště: Trojanovice

23. 10. 2023, 12:25

jo mám v plánu to schématko lépe označit a očíslovat kabeláž (včetně konektorů) ale až po zapojení abych to nemusel při úpravách několikrát překreslovat. Máš dobrý nápad označit RS422 a Ethernet, určitě to takto popíšu, díky. Teď ještě zkresluju schéma rozváděče tak to sem můžu potom vše hodit pokud by to někoho zajímalo.

Díky za info ohledně SmartSerial, už se těším až mi dorazí pc a budu to moct testnout :)

Ten nylonový kroužek je zajímavé řešení ale mám tam ze spoda hadičku která dávkuje olej do ložiska a takto by se tam nedostal. Navíc nevím kde by se dalo v cz sehnat a než to objednám z německa tak mám takovou jednoduchou podložku na soustruhu utočenou
Uživatelský avatar
robokop
Site Admin
Příspěvky: 23264
Registrován: 10. 7. 2006, 12:12
Bydliště: Praha
Kontaktovat uživatele:

23. 10. 2023, 12:27

Jestli budes davat hydraulicke upinani pripominej se, poslu ti par zajimavych fotek co ti mozna usetri dost penez.
Vsechna prava na chyby vyhrazena (E)
Uživatelský avatar
zz912
Příspěvky: 1628
Registrován: 25. 5. 2008, 7:16

23. 10. 2023, 1:06

Ten nylonový kroužek je zajímavé řešení
Jen pro info. Je to plechový kroužek. Dej si do Google nilos-rings.
LinuxCNC - MESA 7i96
zz912.webnode.cz
Uživatelský avatar
Meki
Příspěvky: 628
Registrován: 20. 4. 2020, 11:37
Bydliště: Trojanovice

23. 10. 2023, 1:13

robokop píše: 23. 10. 2023, 12:27 Jestli budes davat

hydraulicke upinani pripominej se, poslu ti par zajimavych fotek co ti mozna usetri dost penez.
Měl by jsi prosím víc info?
já jsem chtěl jít touto cestou:
Sklíčidlo SB-204 (průměr 110mm průchod 26mm):
https://www.aliexpress.com/item/3283854 ... m7WhYpJwlG

upínací válec SH0928:
https://www.aliexpress.com/item/3283855 ... 9325681%21

Hydraulický agregát už jsem sehnal, jen budu ještě muset vymyslet jak z 3f 200V japonského motoru udělat 400V evropský
Uživatelský avatar
Meki
Příspěvky: 628
Registrován: 20. 4. 2020, 11:37
Bydliště: Trojanovice

24. 10. 2023, 11:24

zz912 píše: 23. 10. 2023, 1:06
Ten nylonový kroužek je zajímavé řešení
Jen pro info. Je to plechový kroužek. Dej si do Google nilos-rings.
A jo, špatně jsem si to z toho německého odkazu přeložil, myslel jsem že se jedná o nilonové kroužky. Dívám se že je mají i v mateze, uvidím ještě co vymyslím až ty šrouby a domky vymontuju
Uživatelský avatar
Meki
Příspěvky: 628
Registrován: 20. 4. 2020, 11:37
Bydliště: Trojanovice

6. 11. 2023, 9:01

Pokročil jsem k instalaci LinuxCNC abych si mohl proklikat Halshow a v gmoccapy si vyzkoušet jestli mi nechybí některé prvky na ovládacím panelu než jej dám vypálit ale narazil jsem na problém.

Nainstaloval jsem čistý Debian bookworm amd64 preempr_rt 6.1.55-1 a poté LinuxCNC 2.9.1
Mám mesu 7i92 (FPGA) a k ní 7i77 (analogová) v konektoru P1 + 7i74 (8x rs422) v konektoru P2.
Do 7i92 jsem naflešoval 7i92_7i77_7i74D.bit, bohužel tato sestava v pncconf není a ani discovery option nefungoval, tak jsem zvolil jen 7i92_7i77 a 7i74 pak v souboru dopíšu ručně.

K problému: v halshow nevidím analogové vstupy do mesy 7i77 (analogin), v návodu se píše že se musím nastavit mód 1 nebo 2, zkoušel jsem sserial_port_0=200xxxxx, sserial_port_0=020xxxxx, sserial_port_0=222xxxxx, sserial_port_0=2xxxxxxx, sserial_port_1=200xxxxx, sserial_port_2=222xxxxx ale bez úspěchu

napájení 5v v 7i77 mám, zkoušel jsem restartovat pc - bez změny.

Kde přesně by se měly v stromu Halshow ty piny zobrazit? snad jsem je někde nepřehlídl.

Čeho jsem si ale všiml, PNCconf na mě řval že mu chybí hostmot2 v /lib/firmware/hm2/ a ani složku usr\share\doc\hostmot2-firmware-5i25\ kde jsem chtěl nahrát soubor .PIN jsem nenašel. Když jsem chtěl hostmot2 doinstalovat (jak se píše zde https://www.linuxcnc.org/docs/html/driv ... g_firmware) tak synaptic nic nenašel. Zajímavé ale je že LinuxCNC má v .HALu hned na startu loadrt hostmot2 ale žádný error že by mu tato komponenta chyběla na mě nevyplivl, v stromku dokonce vidím řádky s hm2. Kde je teda pravda? chybí jen část hm2 a nebo v této relativně moderní verzi LinuxCNC něco změnili a to co chybí PNCconfu je v pořádku?

ANALOG INPUTS
All field input pins are capable of reading the input voltage. These are not highly
accurate or high resolution but can be useful for things like potentiometer inputs. Input
resolution is 8 bits and input full scale value is 36.3V. Accuracy is +-5%. Software process
data modes 1 and 2 allow reading the analog voltage on inputs 0 through 3, in addition to
the 32 digital bit inputs
Přílohy
Snímek obrazovky_2023-11-06_21-34-55.png
Snímek obrazovky_2023-11-06_21-35-17.png
Uživatelský avatar
zz912
Příspěvky: 1628
Registrován: 25. 5. 2008, 7:16

7. 11. 2023, 6:25

No tak tohle bude dotaz na PCW na EN fóru.
Možná bude stačit aktualizovat firmware v 7i77.

http://store.mesanet.com/index.php?rout ... uct_id=120
Support Software Download v.14 Serial Remote I/O card firmware
Nějakej postup instalace firmware přes halrun tam je, ale nikdy jsem to nedělal.
LinuxCNC - MESA 7i96
zz912.webnode.cz
Uživatelský avatar
Meki
Příspěvky: 628
Registrován: 20. 4. 2020, 11:37
Bydliště: Trojanovice

7. 11. 2023, 11:10

Problém vyřešen, moje blbost, po připojení 12v na napájecí konektor TB2 u 7i77 se piny v Halshow objevily. No jo, už jsem zhýčkaný mesama typu 7i96 kterým k životu stačí 5v ale tato má dva samostatně žijící okruhy a tak potřebuje jak 5V tak i 8-32V :lol: předpokládal jsem že 8-32V živí jen nějaké ssr nebo silové obvody, netušil jsem že to je i pro logické obvody.
zz912:
Support Software Download v.14 Serial Remote I/O card firmware
Nějakej postup instalace firmware přes halrun tam je, ale nikdy jsem to nedělal.
Zajímavé, netušil jsem že tyto rozšiřující karty mají taky svůj firmware, myslel jsem že obsahují jen posuvové registry, optočleny atd.. a o vše ostatní se stará FPGA karta. Teď když ale vidím že po pžipojení 7i77 se mi v Halshow objeví piny tak se opravdu něco z té karty 7i77 ohlásí do PC s LinuxCNC.
Zkoušel jsem ten update, kdyby to někdo zkoušel tak v tom staženém souboru je text README kde je celkem jasně popsané co a jak, jen pozor na jednu věc, při příkazu ./update7i77 mi to mesu 7i77 hledalo v pci slotu, je třeba vybrat ./update7i77-eth v případě ethernetového připojení
Uživatelský avatar
Meki
Příspěvky: 628
Registrován: 20. 4. 2020, 11:37
Bydliště: Trojanovice

28. 11. 2023, 8:34

KOUPÍM: hydraulický upínací válec a sklíčidlo pokud by někdo o něčem věděl. Průchodnost okolo 26mm průměr sklíčidla okolo 110-125mm

Jinak jej objednám z číny ale vyjde to na cca 35k bez dph a cla a momentálně skoro všechny mé úspory padly do zateplení dílny a na mé mazlíčky už moc nezbylo :(

Aktuálně: serva os XZ už se hýbou, plechy i panel v lakovně (pak hodím fotky).
Momentálně řeším výměnu nástrojů, je tam použitý plnohodnotný turret barrufaldi (žádné couvání proti zarážce a pod.) - obousměrná výměna, pohon 3f asyn. motor, 4bit binární enkodér + strobe + parita, pre-index čep, indukční senzor zaaretování. Komponenta carousel nejde použít -> neumí pre-index čep a reverzaci s hlídáním toho indukčního čidla tak teď studuju jestli bych ji nedokázal upravit
Uživatelský avatar
zz912
Příspěvky: 1628
Registrován: 25. 5. 2008, 7:16

28. 11. 2023, 8:51

Co je to "neumí pre-index čep"?

Ta komponenta umí opravdu hodně. Jakou verzi LCNC používáš?
LinuxCNC - MESA 7i96
zz912.webnode.cz
Milan199
Příspěvky: 3562
Registrován: 18. 8. 2010, 9:04

28. 11. 2023, 9:07

Meki píše: 28. 11. 2023, 8:34 KOUPÍM: hydraulický upínací válec a sklíčidlo pokud by někdo o něčem věděl. Průchodnost okolo 26mm průměr sklíčidla okolo 110-125mm
Třeba se blbě dívám, ale průchod těmi menšími sklíčidly je 12mm ! To ostatně +- odpovídá i stejné velikosti od Kitagawy nebo Rohmu.

Ten japonský agregát by bylo asi dobré ovládat přes FM. // což by řešilo tvůj problém s napětím // Nevím jaký seženeš válec, ale pokud to není sladěné, jde ti moc oleje přes přepouštěcí ventil a generuješ tam teplo, které tě stojí zbytečnou "elektřinu".
Odpovědět

Zpět na „CNC soustruhy“