tumlik píše: ↑10. 12. 2023, 12:35
pafik píše: ↑10. 12. 2023, 9:42
Tvoje nabídka je lákavá, ale dokud mi pětidemolice nevrátí kus důchodu, kterej mi ukradla, tak bohužel

.
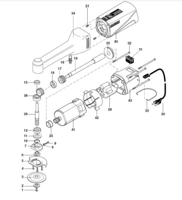
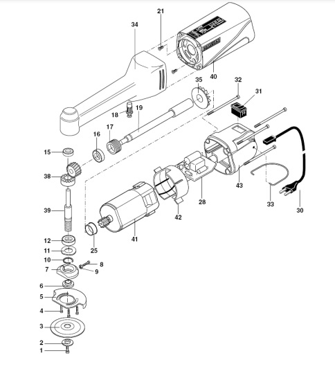
Posílám ti fotku na SZ. Abych to dával sem. je to dost veliký, a když to zkomprimuju, tak to zase nemusí být dobře vidět. Za sebe bych řekl, že ten imbus má závit až v hřídelce.
Stran regulace; jen kvůli tobě jsem našel starou regulaci s tyristorem, dělanou ještě za Husáka. Otáčky to reguluje, ale je to hrozně trhaný, v praxi nepoužitelný. Jak je to celý titěrný, tak tomu chybí moment setrvačnosti, kterej to u klasický vrtačky zklidní. Pokud by tady měla být regulace, tak jiným způsobem, ne jedním tyristorem, kterej usekává část sinusovky.
každopádně dík za fotku, myslím, že ta hřídelka na brusce bohužel je s vnitřním závitem, zatím co vrtačka má klasicky dutinku na kleštinky, protože ta spodní přírubička má jen závit přímo na hřídelku
https://www.fluidonline.de/proxxonmicro ... 6687_25002 a u náhradní hřídelky je číslo 28547-39 krátká, tak to je blbý, koupím teda asi spíš tu brusku a oželím regulaci, ale je to škoda, moc to nechápu, že tam není regulace
Habešan píše: ↑10. 12. 2023, 10:06
Možná by pomohlo dát alespoň výřez z té fotky.
Je řeč konkrétně o Proxxon 28547 a Proxxon 28492 ???
ano, je to Proxxon 28547
no, proč tam ta regulace u tý brusky není je podle mě celkem snadno odhadnutelný - protože logicky mají strach, že když si to koupí dumbhead , stáhne otáčky dolu a půjde brousit kolejnice

tak to odpálí, protože se to vůbec nebude chladit. Btw (nevím na co to přesně chceš), ale s výběrem bych byl spíš opatrný - si to dobře vyzkoušel, protože podle vobrázků to fakt není stejný - jiný je převodový poměr, průměr ventilova látoru, typ ozubení na tom převodu (klasika kuželový kola, versus talířový) no a pokud je to jiný, tak rozhodně k tomu mají nějaký důvod - Prox nejsou blbci, takže si určitě nepřidělávají práci pro nic zanic.
Já osobně bych si vybral mechanicky vhodnější polotovar z těch dvou a tu výstupní hřídel stejně udělal novou - protože až budeš chtít v tom dělat něco trochu přesnýho, tak stejně to předěláš.
Mj, do toho proxxoňáckýho "konce" vleze dozadu za díru pro kleštinu ještě i M4, takže když to překopáš, tak se k tomu (obecně všechno, co má ten jejich konec) dají udělat normální výměnný trny na placatej klíček (jako na nástrojovku) a pak můžeš měnit kotouče včetně trnů, aniž bys to vždy musel orovnávat jako kxxxt (protože jim to všechno šmajdá). Bonusem pak je i že to má oproti kleštině nesrovnatelnou tuhost. Kleštiny ale (když si uděláš svoje přesný) tam dál můžeš používat - prostě jde tam pak vše - kleština, trn, sklíčidlo (to je taky takový dětský, odpovídající ceně).
Pro ilustraci trny a původní kleština a matice. Trny mají vzadu M4, já jí mám broušenou (aby to běželo), protože to používám (ty trny) i na malým dělaným vřetenu na malinký díry a i v držácích na naháněný nástroje. Když to ale uděláš slušně (závit kudlou), tak to asi taky půjde použít. Průměr a kužel a zbytek samozřejmě musíš obrousit - aby to nebyl shit. Samozřejmě je to tvrdý - aby to mělo trochu slušnou životnost. Délku si uděláš jakou chceš - na fotce jsou dvě délky.
jo a bliknul jsem Ti to na starý oranžádě s E + ES - aby tě to trochu nastartovalo a i potěšilo (aby to mělo truchu tu štábní kultůru)
